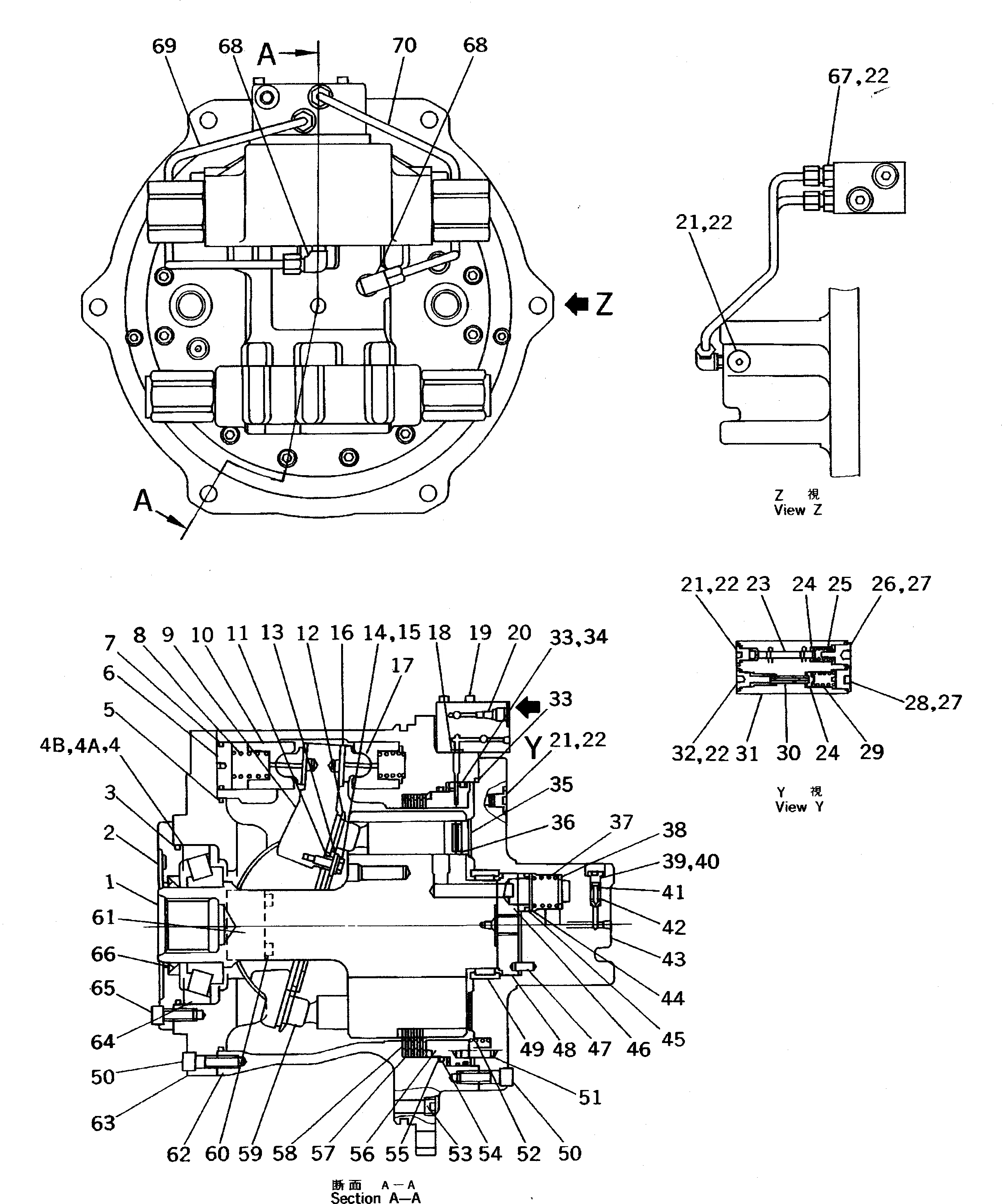
Запчасти Komatsu PC710-5 КОНЕЧНАЯ ПЕРЕДАЧА (МОТОР ХОДА) НИЖНЯЯ ГИДРОЛИНИЯ И ЛИНИЯ ХОДА

Схема запчастей Komatsu PC710-5 - КОНЕЧНАЯ ПЕРЕДАЧА (МОТОР ХОДА) НИЖНЯЯ ГИДРОЛИНИЯ И ЛИНИЯ ХОДА
FIT
1:1
100%

Артикул

Название

Примечание

Количество

|1

209-60-63502

MOTOR ASS'Y

|1

209-60-63501

MOTOR ASS'Y

1

TMK1319-203

CYLINDER ASS'Y

2

TMK1305-118

RETAINER

3

TM0200-148

O-RING

4

TM1397-145

SHIM¤ 0.1MM

4A

TM1397-146

SHIM¤ 0.3MM

4B

TM1397-147

SHIM¤ 0.5MM

5

TM0200-163

O-RING

6

TM1399-218

CAP

7

TM8200-053

O-RING

8

TM1390-179

SPRING

9

CAM

10

TM1320-152

PISTON

11

TM1393-129

SPACER

12

TM1398-128

PLATE

13

TM1398-112

PLATE

14

TM0549-032

BOLT

15

TM8131-006

WASHER,SPRING

16

TM1398-163

PLATE

17

TM1393-192

PLATE

18

11T-60-12510

O-RING,(TM0201-011)

19

TM0576-077

BOLT

20

TM0829-156

ORIFICE

21

TM0824-051

CAP

22

07000-12011

O-RING,(TM8202-009)

23

TMK1626-119

SPOOL

24

TM3531-046

GUIDE,SPRING

25

TM1390-138

SPRING

26

TM1387-119

CAP

27

07000-12014

O-RING,(TM8202-011)

28

TM0824-052

CAP

29

TM1390-183

SPRING

30

TM1326-117

POPPET

31

TMK1389-115

HOUSING

32

TM1387-120

CAP

33

TM0201-166

O-RING

34

TM0859-291

RING,BACK-UP

35

TMK1393-113

SHOE

36

TM0719-054

RING

37

TM1390-139

SPRING

38

TM1393-119

SPACER

39

TM0824-050

CAP

40

07000-11008

O-RING,(TM8202-005)

41

TM3590-343

SPRING

42

TM3513-229

VALVE,CHECK

43

TMK1303-292

COVER

44

TM1393-120

SPACER

45

TM0719-046

RING

46

TM1391-117

BUSHING

47

TM0522-143

PIN

48

TM1313-150

PLATE

49

TM0682-125

BEARING

50

01252-41240

BOLT,(TM8072-123)

51

TM0522-145

PIN

52

TM1390-166

SPRING

53

TM8320-002

PLUG

54

TM0201-165

O-RING

55

TM0859-290

RING,BACK-UP

56

TM1320-151

PISTON

57

TM7598-040

PLATE

58

TM7598-039

DISC

59

TMK1321-123

PISTON ASS'Y

60

01252-40850

BOLT,(TM8072-089)

61

TM1399-135

GUIDE

62

TMK1311-191

HOUSING

63

FLANGE

64

TM0671-106

BEARING

65

01252-41230

BOLT,(TM8072-121)

66

TM0722-116

SEAL,OIL

67

TM0779-157

JOINT

68

TM8778-013

ELBOW

69

TM1399-220

TUBE

70

TM1399-221

TUBE

Выбрано товаров: 0