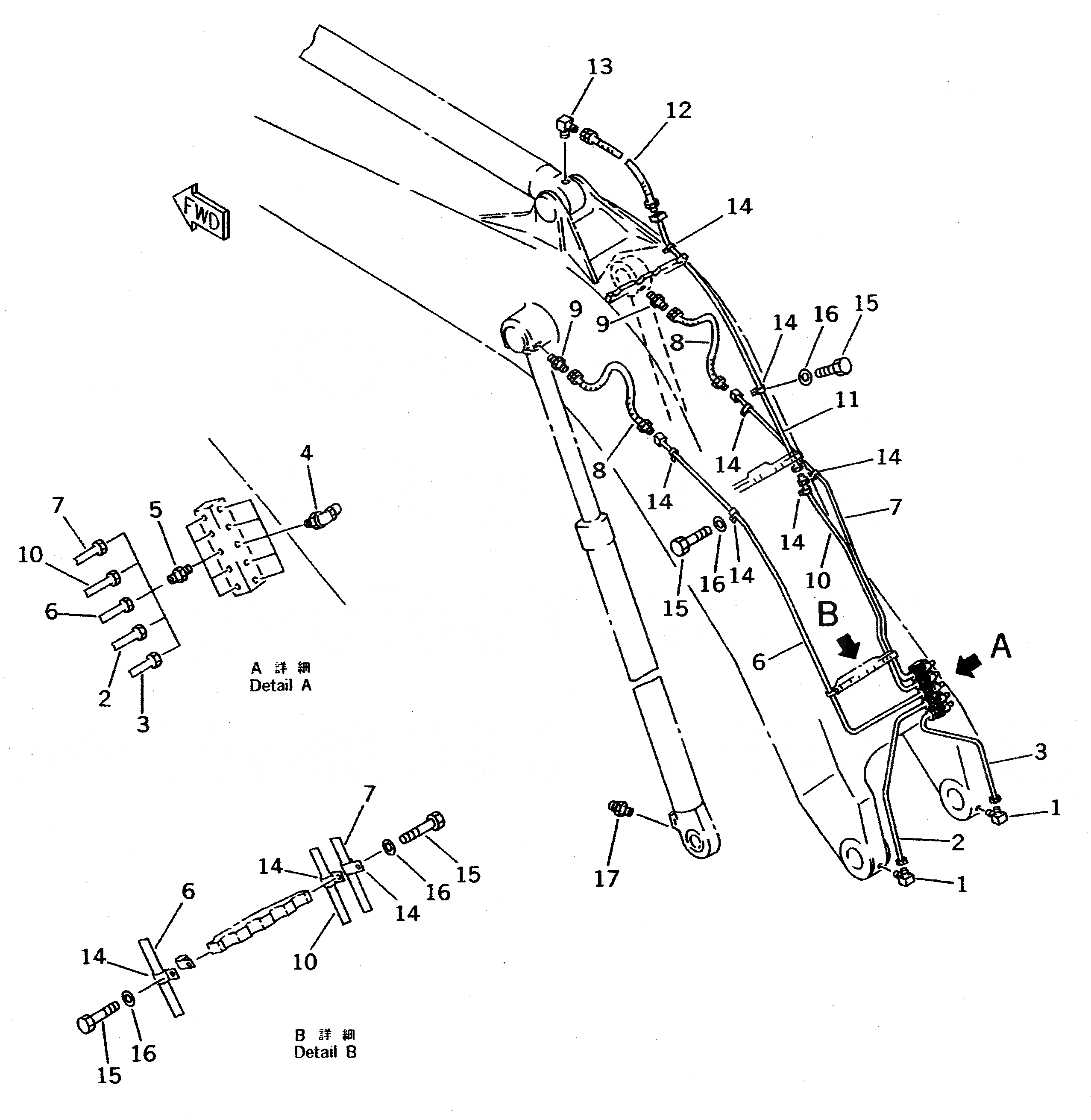
Запчасти Komatsu PC710-5 СТРЕЛА (СМАЗКА) (ЭКСКАВАТ.) (УСИЛ.) РАБОЧЕЕ ОБОРУДОВАНИЕ

Схема запчастей Komatsu PC710-5 - СТРЕЛА (СМАЗКА) (ЭКСКАВАТ.) (УСИЛ.) РАБОЧЕЕ ОБОРУДОВАНИЕ
FIT
1:1
100%

Артикул

Название

Примечание

Количество

1

209-72-16140

ELBOW

2

209-70-57470

TUBE,L.H.

3

209-70-57480

TUBE,R.H.

4

07020-00900

FITTING

5

07213-51013

CONNECTOR

6

209-70-57411

TUBE

7

209-70-57421

TUBE

8

198-79-19280

HOSE¤ 890MM

9

205-70-51390

NIPPLE

10

209-70-56131

TUBE

11

209-70-57431

TUBE

|11

209-70-57430

TUBE

12

198-79-19280

HOSE¤ 890MM

13

205-70-51380

ELBOW

14

04434-51010

CLIP

|14

175-04-25390

CLIP

15

01010-51020

BOLT

16

01643-31032

WASHER

17

07020-00000

FITTING

Выбрано товаров: 19