Запчасти Komatsu PC710-5 СТРЕЛА (ЦИЛИНДР КОВША ТРУБЫ) (ЭКСКАВАТ.) РАБОЧЕЕ ОБОРУДОВАНИЕ

Схема запчастей Komatsu PC710-5 - СТРЕЛА (ЦИЛИНДР КОВША ТРУБЫ) (ЭКСКАВАТ.) РАБОЧЕЕ ОБОРУДОВАНИЕ
FIT
1:1
100%

Артикул

Название

Примечание

Количество

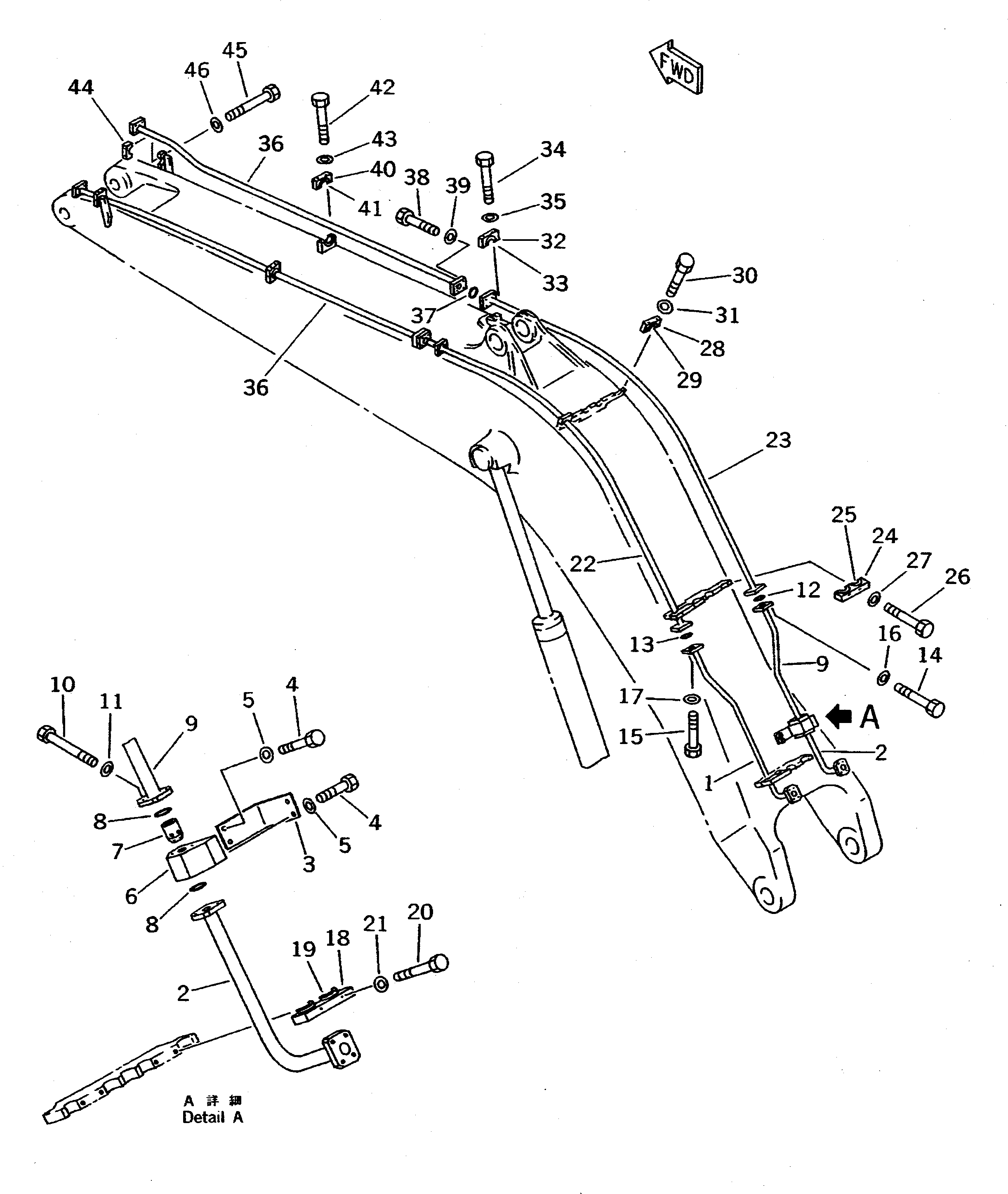
1

209-62-68140

TUBE

2

209-62-58280

TUBE

3

209-62-68150

BRACKET

4

01010-51230

BOLT

5

175-54-34170

WASHER

|6

209-60-53200

VALVE ASS'Y

6

209-60-12611

BODY

7

209-60-53210

POPPET

8

07000-13048

O-RING

9

209-62-58460

TUBE

10

01011-51450

BOLT

11

01643-31445

WASHER

12

07000-13048

O-RING

13

07000-13048

O-RING

14

01010-51455

BOLT

15

01010-51455

BOLT

16

01643-31445

WASHER

17

01643-31445

WASHER

18

209-62-58270

CLAMP

19

209-62-58520

SEAT

20

01010-51255

BOLT

21

01643-31232

WASHER

22

209-62-58111

TUBE

23

209-62-58111

TUBE

24

209-62-58230

CLAMP

25

209-62-58520

SEAT

26

01010-51255

BOLT

27

01643-31232

WASHER

28

209-62-58370

CLAMP

29

209-62-58520

SEAT

30

01010-51255

BOLT

31

01643-31232

WASHER

32

209-62-58370

CLAMP

33

209-62-58520

SEAT

34

01010-51255

BOLT

35

01643-31232

WASHER

36

209-62-58311

TUBE

|36

209-62-58310

TUBE

37

07000-13048

O-RING

38

01010-51455

BOLT

39

01643-31445

WASHER

40

209-62-58370

CLAMP

|40

209-62-58370

CLAMP

41

209-62-58520

SEAT

42

01010-51255

BOLT

|42

01010-51255

BOLT

43

01643-31232

WASHER

|43

01643-31232

WASHER

44

209-62-53790

CLAMP

45

01010-51690

BOLT

46

01643-31645

WASHER

Выбрано товаров: 51