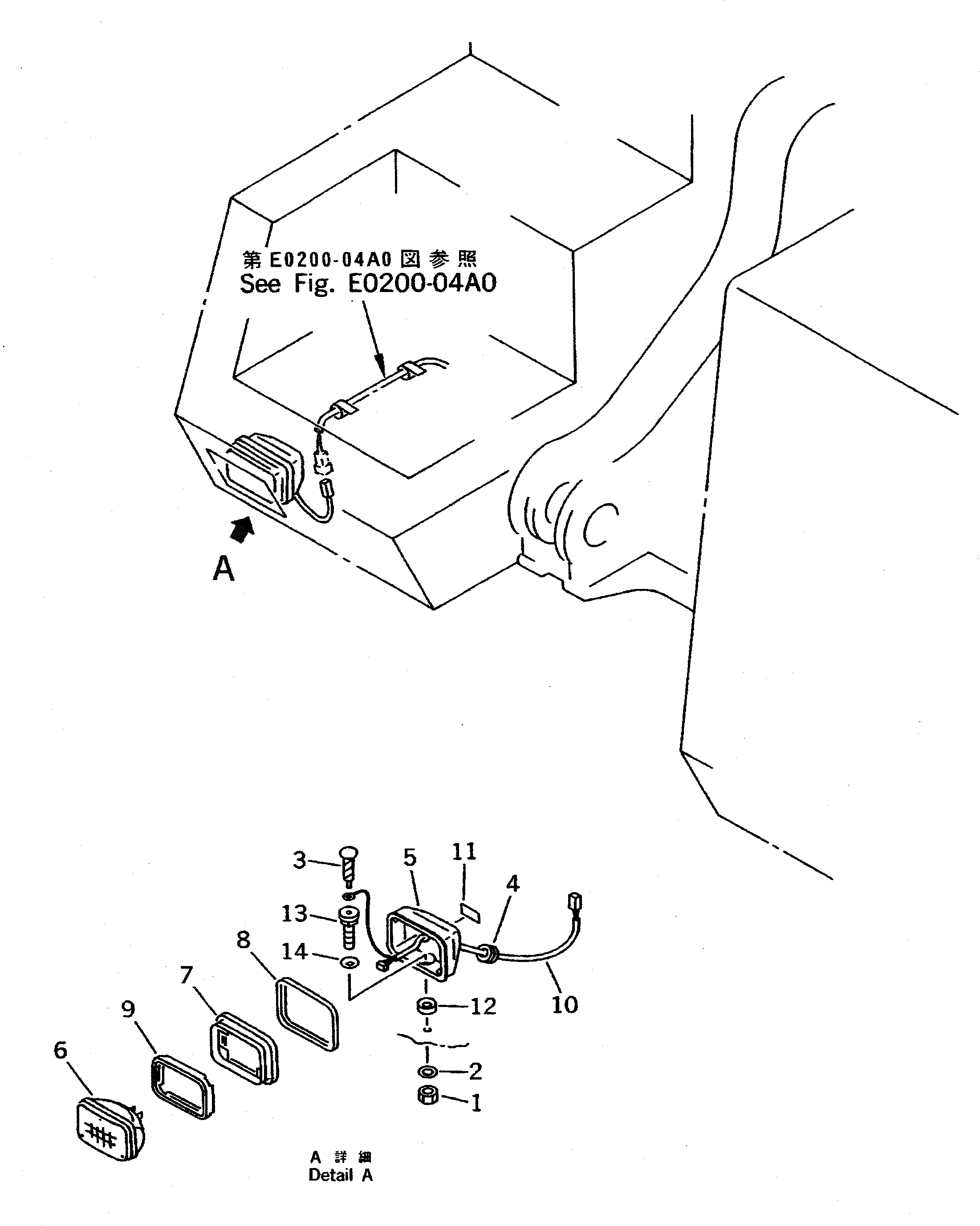
Запчасти Komatsu PC710-5 ЭЛЕКТРИКА (ЛАМПА РАБОЧ. ОСВЕЩЕНИЯ) ЭЛЕКТРИКА

Схема запчастей Komatsu PC710-5 - ЭЛЕКТРИКА (ЛАМПА РАБОЧ. ОСВЕЩЕНИЯ) ЭЛЕКТРИКА
FIT
1:1
100%

Артикул

Название

Примечание

Количество

|1

203-06-56140

LAMP ASS'Y

1

01582-11411

NUT

2

01643-31445

WASHER

3

04418-03060

SCREW

4

09415-01008

CAP

5

203-06-56160

HOUSING

6

22W-06-12170

BULB

7

22W-06-12290

CUSHION

8

203-06-56190

RING

9

203-06-56180

RING

10

203-06-56150

WIRE ASS'Y

11

203-06-56171

PLATE

|11

203-06-56170

PLATE¤ NAME

12

22W-06-12160

SEAT

13

22W-06-12140

BOLT

14

22W-06-12150

WASHER

Выбрано товаров: 16