Запчасти Komatsu PC710-5 ГИДР. БАК. (ВОЗВРАТ. ФИЛЬТР. - БАК) (ДЛЯ 4-Х СЕКЦИОНН. КЛАПАН) ГИДРАВЛИКА

Схема запчастей Komatsu PC710-5 - ГИДР. БАК. (ВОЗВРАТ. ФИЛЬТР. - БАК) (ДЛЯ 4-Х СЕКЦИОНН. КЛАПАН) ГИДРАВЛИКА
FIT
1:1
100%

Артикул

Название

Примечание

Количество

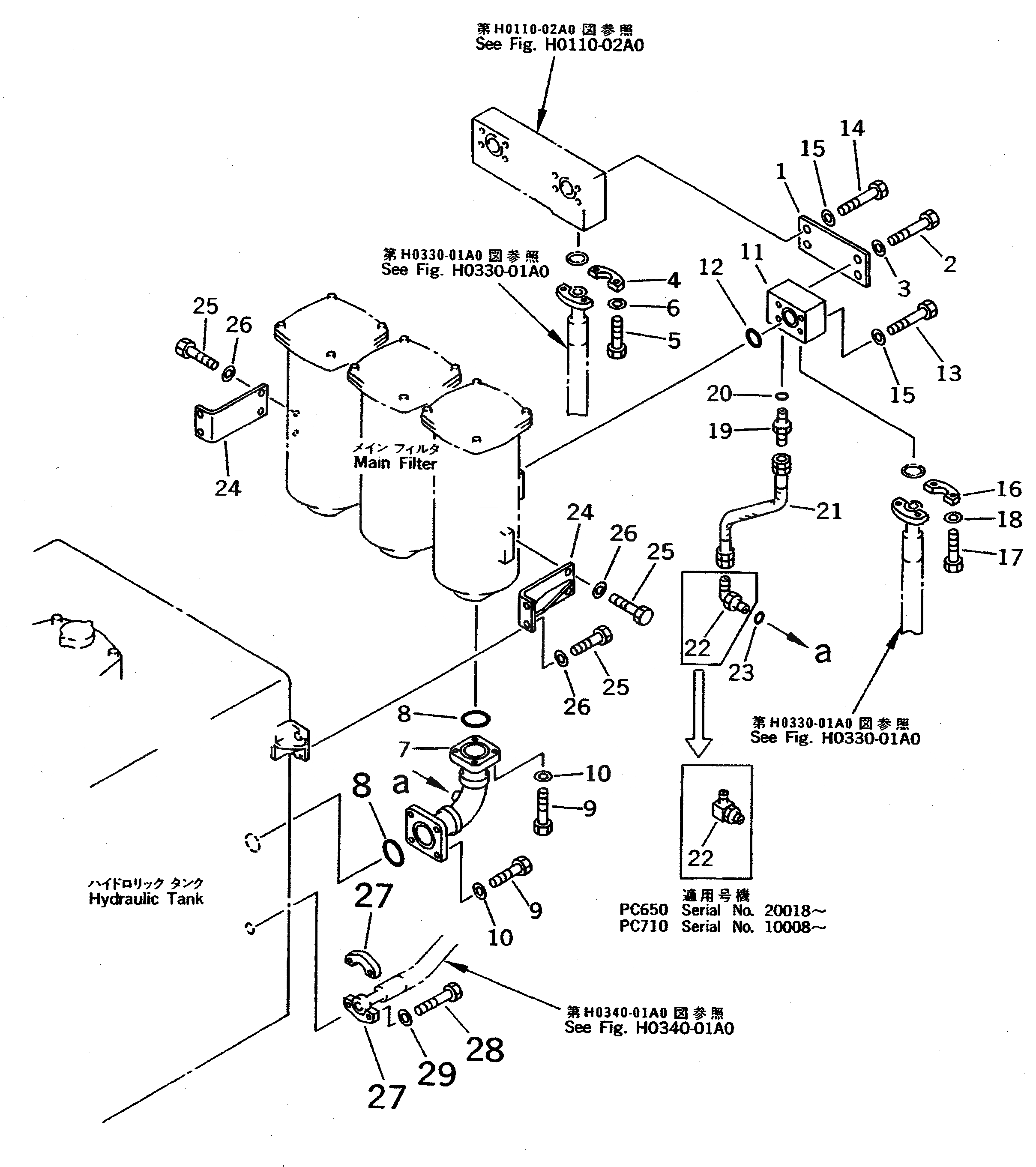
1

209-62-66350

PLATE

2

01011-51200

BOLT

3

01643-31232

WASHER

4

07371-31645

FLANGE

5

07372-21240

BOLT

6

01643-51232

WASHER

7

209-62-66280

TUBE

8

07000-02065

O-RING

9

01010-51240

BOLT

10

01643-31232

WASHER

11

209-62-56151

BLOCK

12

07000-03048

O-RING

13

01010-51290

BOLT

14

01011-51200

BOLT

15

01643-31232

WASHER

16

07371-31465

FLANGE

17

07372-21240

BOLT

18

01643-51232

WASHER

19

205-62-55270

NIPPLE

|19

07230-20210

UNION

20

07002-01423

O-RING

21

07102-20304

HOSE

|21

07102-20204

HOSE

22

207-62-33920

ELBOW

|22

07235-10210

ELBOW

23

07002-01423

O-RING

24

209-62-56180

BRACKET

25

01010-51230

BOLT

26

01643-31232

WASHER

27

07371-31049

FLANGE

28

07372-21035

BOLT

29

01643-51032

WASHER

Выбрано товаров: 32