Запчасти Komatsu PC710-5 NO. НАСОС (СОЕДИНИТ. ЧАСТИ) ГИДРАВЛИКА

Схема запчастей Komatsu PC710-5 - NO. НАСОС (СОЕДИНИТ. ЧАСТИ) ГИДРАВЛИКА
FIT
1:1
100%

Артикул

Название

Примечание

Количество

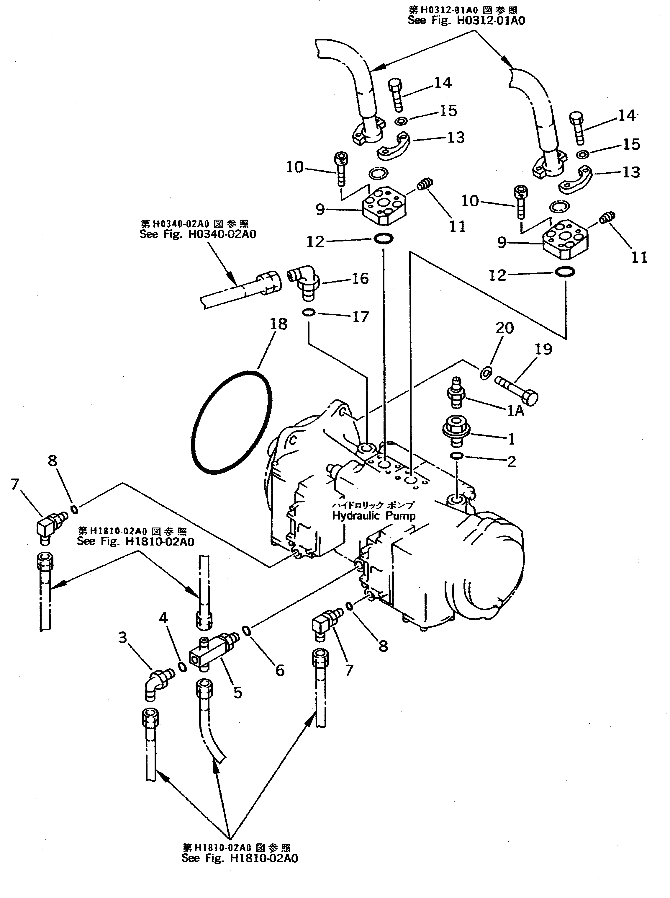
1

706-87-40150

PLUG

1A

20B-27-11210

BLEEDER

2

07002-02434

O-RING

3

07235-10315

ELBOW

4

07002-02034

O-RING

5

209-62-57720

TEE

6

07002-02034

O-RING

7

207-62-33920

ELBOW

8

07002-11423

O-RING

9

209-62-51490

FLANGE

10

01252-41030

BOLT

11

07042-30108

PLUG

12

21T-09-11460

O-RING

13

07371-31049

FLANGE

14

07372-21035

BOLT

15

01643-51032

WASHER

16

07235-10628

ELBOW

17

07002-02434

O-RING

18

07000-05230

O-RING

19

01010-51650

BOLT

20

01643-31645

WASHER

Выбрано товаров: 0