Запчасти Komatsu PC710-5 ПОВОРОТН. НАСОС (СОЕДИНИТ. ЧАСТИ) ГИДРАВЛИКА

Схема запчастей Komatsu PC710-5 - ПОВОРОТН. НАСОС (СОЕДИНИТ. ЧАСТИ) ГИДРАВЛИКА
FIT
1:1
100%

Артикул

Название

Примечание

Количество

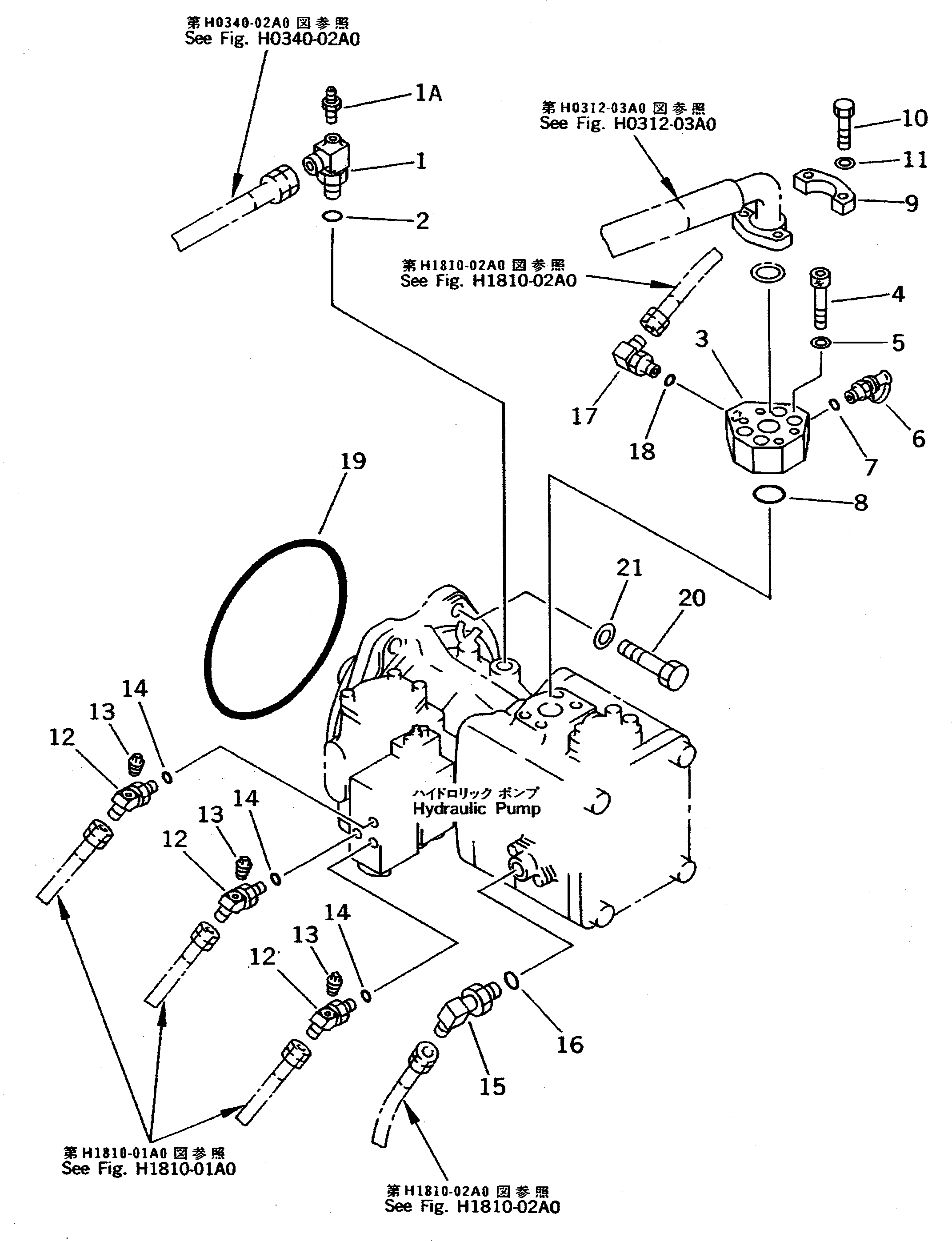
1

20Y-62-17710

ELBOW

1A

20B-27-11210

BLEEDER

2

07002-02434

O-RING

3

209-62-51272

FLANGE

4

01252-41250

BOLT

5

01643-51232

WASHER

6

209-62-61310

NIPPLE ASS'Y

7

209-62-61330

O-RING

8

21T-09-11480

O-RING

9

07371-51260

FLANGE

10

01010-51245

BOLT

11

01643-31232

WASHER

12

209-62-67470

ELBOW

|12

20Y-62-17720

ELBOW

13

07042-30108

PLUG

14

07002-11423

O-RING

15

208-62-33160

ELBOW

16

07002-02434

O-RING

17

207-62-33920

ELBOW

18

07002-11423

O-RING

19

07000-05270

O-RING

20

01010-52060

BOLT

21

01643-32060

WASHER

Выбрано товаров: 23