Запчасти Komatsu PC710SE-5 ПОДАЮЩ. ТРУБЫ (IN ЛИНИЯ ФИЛЬТР) ГИДРАВЛИКА

Схема запчастей Komatsu PC710SE-5 - ПОДАЮЩ. ТРУБЫ (IN ЛИНИЯ ФИЛЬТР) ГИДРАВЛИКА
FIT
1:1
100%

Артикул

Название

Примечание

Количество

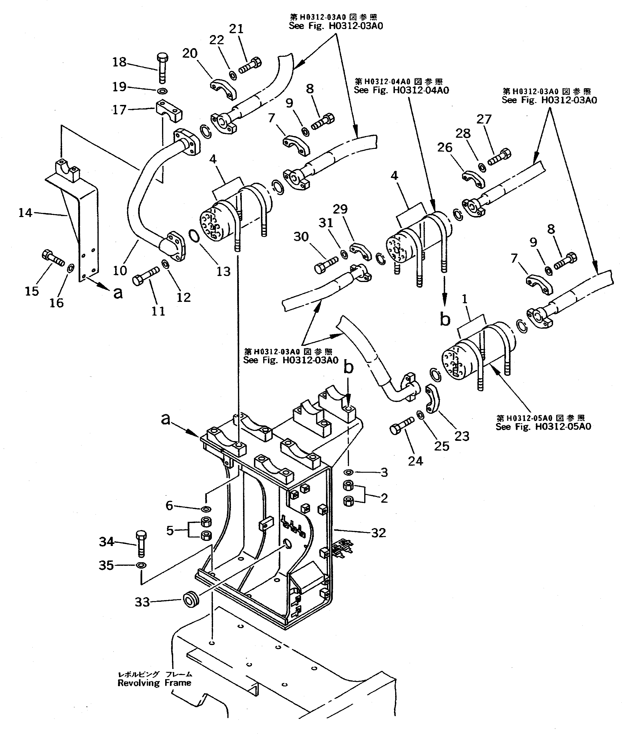
1

209-62-61181

BAND

2

01580-11613

NUT

3

01643-31645

WASHER

4

209-62-61161

BAND

5

01580-11613

NUT

6

01643-31645

WASHER

7

07371-51470

FLANGE

8

01010-51455

BOLT

9

01643-31445

WASHER

10

209-62-51322

TUBE

|10

209-62-51321

TUBE

11

01010-51445

BOLT

|11

01010-51450

BOLT

12

01643-31445

WASHER

13

21T-09-11510

O-RING

14

209-62-61130

BRACKET

15

01010-51225

BOLT

16

01643-31232

WASHER

17

176-61-41330

CLAMP

18

01010-51250

BOLT

19

01643-31232

WASHER

20

07371-51470

FLANGE

21

01010-51455

BOLT

22

01643-31445

WASHER

23

07371-51470

FLANGE

24

01010-51455

BOLT

25

01643-31445

WASHER

26

07371-51260

FLANGE

27

01010-51245

BOLT

28

01643-31232

WASHER

29

07371-51260

FLANGE

30

01010-51245

BOLT

31

01643-31232

WASHER

32

209-62-61113

BRACKET

|32

209-62-61112

BRACKET

33

08037-03620

GROMMET

34

01010-51635

BOLT

35

01643-31645

WASHER

Выбрано товаров: 38