Запчасти Komatsu PC710SE-5 ОХЛАЖД-Е (МАСЛООХЛАДИТЕЛЬ И КОРПУС) СИСТЕМА ОХЛАЖДЕНИЯ

Схема запчастей Komatsu PC710SE-5 - ОХЛАЖД-Е (МАСЛООХЛАДИТЕЛЬ И КОРПУС) СИСТЕМА ОХЛАЖДЕНИЯ
FIT
1:1
100%

Артикул

Название

Примечание

Количество

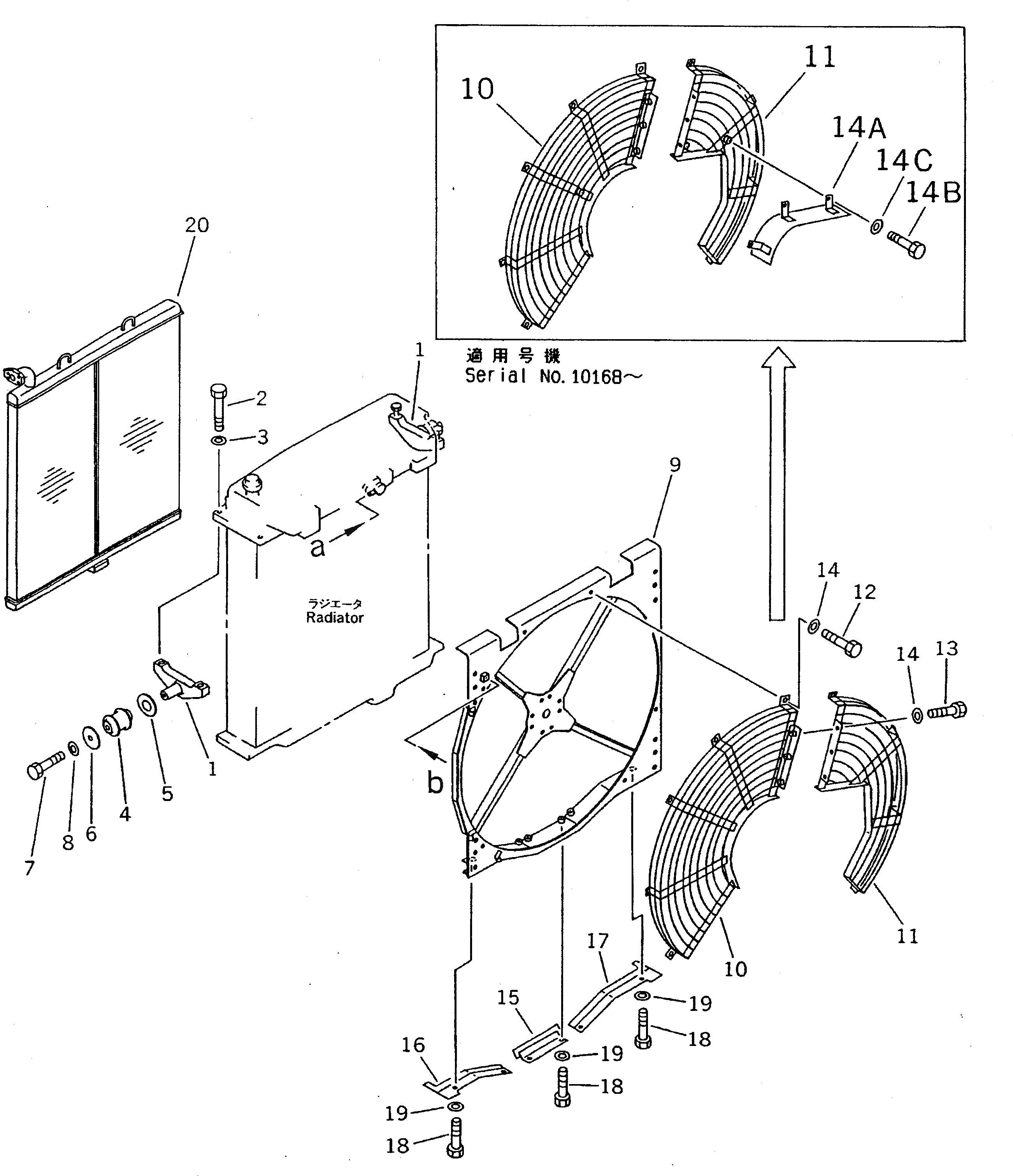
1

209-03-51150

BRACKET

2

01010-51865

BOLT

3

01643-31845

WASHER

4

195-03-41440

CUSHION

5

198-03-51230

PLATE

6

195-03-41260

PLATE

7

01010-51630

BOLT

8

01643-31645

WASHER

9

209-03-61111

GUARD

10

209-03-61152

NET

|10

209-03-61151

NET

11

209-03-61163

NET

|11

209-03-61162

NET

12

01252-41225

BOLT

|12

01010-51230

BOLT

13

01010-51225

BOLT

14

01643-31232

WASHER

14A

209-03-61230

COVER

14B

01010-51235

BOLT

14C

01643-31232

WASHER

15

209-03-61170

BRAKER,WIND

16

209-03-61181

BRAKER,WIND

17

209-03-61191

BRAKER,WIND

18

01010-51025

BOLT

19

01643-31032

WASHER

20

209-03-51111

COOLER

Выбрано товаров: 26