Запчасти Komatsu PC710SE-5 МОТОР ХОДА COVER(№-) ХОДОВАЯ

Схема запчастей Komatsu PC710SE-5 - МОТОР ХОДА COVER(№-) ХОДОВАЯ
FIT
1:1
100%

Артикул

Название

Примечание

Количество

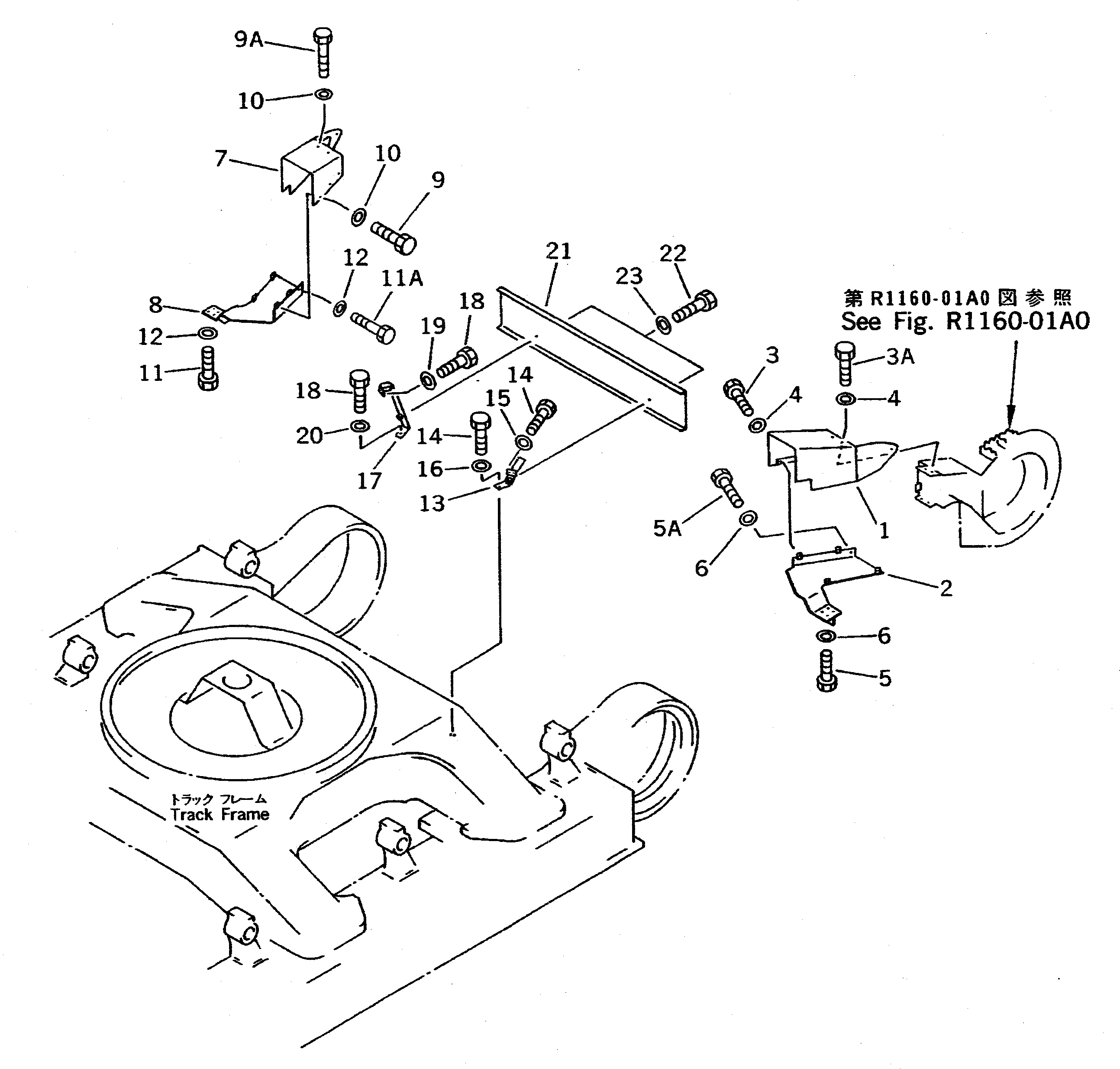
1

209-30-61713

COVER,L.H.

2

209-30-61642

BRACKET,L.H.

3

01010-51230

BOLT

3A

01010-51230

BOLT

4

01643-31232

WASHER

5

01010-51640

BOLT

5A

01010-51640

BOLT

6

01643-31645

WASHER

7

209-30-61723

COVER,R.H.

8

209-30-61652

BRACKET,R.H.

9

01010-51230

BOLT

9A

01010-51230

BOLT

10

01643-31232

WASHER

11

01010-51640

BOLT

11A

01010-51640

BOLT

12

01643-31645

WASHER

13

209-30-61760

BRACKET,L.H.

14

01010-51230

BOLT

15

01643-31232

WASHER

16

175-54-34170

WASHER

17

209-30-61770

BRACKET,R.H.

18

01010-51230

BOLT

19

01643-31232

WASHER

20

175-54-34170

WASHER

21

209-30-61780

COVER

22

01010-51230

BOLT

23

01643-31232

WASHER

Выбрано товаров: 0