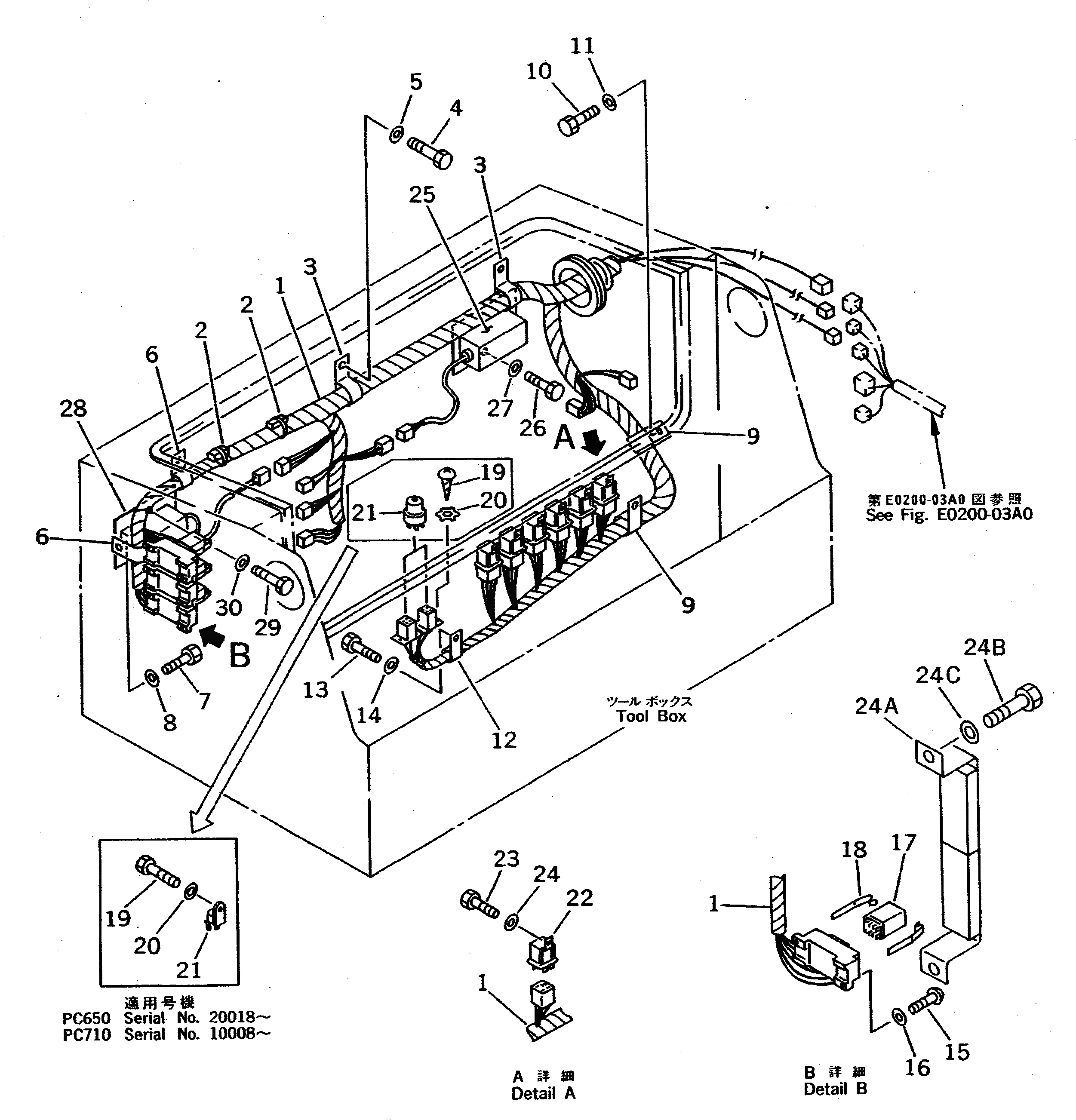
Запчасти Komatsu PC710SE-5 ЭЛЕКТРИКА (ЯЩИК Д/ИНСТРУМЕНТА) (MACHINE УПРАВЛ-Е) ЭЛЕКТРИКА

Схема запчастей Komatsu PC710SE-5 - ЭЛЕКТРИКА (ЯЩИК Д/ИНСТРУМЕНТА) (MACHINE УПРАВЛ-Е) ЭЛЕКТРИКА
FIT
1:1
100%

Артикул

Название

Примечание

Количество

1

209-06-61265

WIRING HARNESS

|1

209-06-61264

WIRING HARNESS

|1

209-06-61263

WIRING HARNESS

|1

209-06-61262

WIRING HARNESS

2

08020-00000

DIODE

3

08036-02514

CLIP

4

01010-81225

BOLT

|4

01010-51225

BOLT

5

01643-31232

WASHER

6

08036-01414

CLIP

7

01010-81225

BOLT

|7

01010-51225

BOLT

8

01643-31232

WASHER

9

08036-02514

CLIP

10

01010-81225

BOLT

|10

01010-51225

BOLT

11

01643-31232

WASHER

12

08036-01414

CLIP

13

01010-81225

BOLT

|13

01010-51225

BOLT

14

01643-31232

WASHER

15

01220-40412

SCREW

16

01641-20405

WASHER

17

20K-06-11260

RELAY

18

20K-06-11280

SPRING

19

01010-80612

BOLT

|19

01010-50612

BOLT

|19

01370-00406

SCREW

20

01643-30623

WASHER

|20

01611-04045

WASHER

21

20Y-979-2680

RELAY

|21

7830-11-8180

RELAY

22

22W-06-13450

RELAY ASS'Y

|22

22W-06-13450

RELAY ASS'Y

23

01010-80612

BOLT

|23

01010-50612

BOLT

|23

01010-50612

BOLT

24

01643-30623

WASHER

|24

01643-30623

WASHER

24A

209-06-61170

PLATE

24B

01010-81225

BOLT

|24B

01010-51225

BOLT

24C

01643-31232

WASHER

25

209-06-62410

TIMER

26

01010-50610

BOLT

27

01643-30623

WASHER

28

209-06-62421

TIMER

|28

209-06-62420

TIMER

29

01010-50610

BOLT

30

01643-30623

WASHER

Выбрано товаров: 0