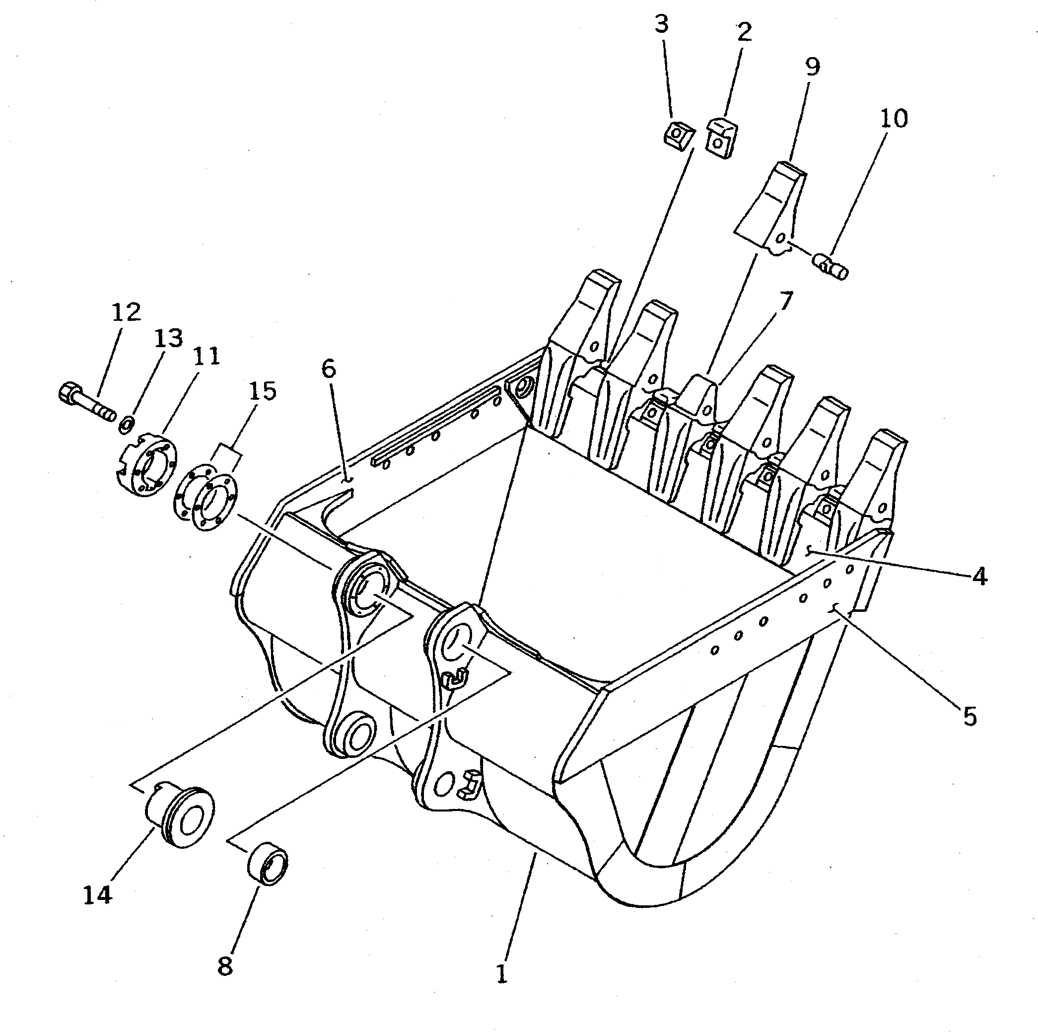
Запчасти Komatsu PC710SE-5 .M. ГОРИЗОНТАЛЬН. ПАЛЕЦ КОВШ¤ MM(№-7) РАБОЧЕЕ ОБОРУДОВАНИЕ

Схема запчастей Komatsu PC710SE-5 - .M. ГОРИЗОНТАЛЬН. ПАЛЕЦ КОВШ¤ MM(№-7) РАБОЧЕЕ ОБОРУДОВАНИЕ
FIT
1:1
100%

Артикул

Название

Примечание

Количество

1

209-939-5131

BUCKET

2

209-939-5170

SHROUD (WELDED)

3

209-939-5180

PLATE (WELDED)

4

209-939-5220

PLATE (WELDED)

5

209-939-5360

PLATE,L.H. (WELDED)

6

209-939-5350

PLATE,R.H. (WELDED)

7

209-70-54143

ADAPTER (WELDED)

8

209-939-5451

BUSHING

9

209-70-54210

TOOTH

10

209-70-54240

PIN ASS'Y

11

209-939-5421

COVER

12

01010-52480

BOLT

13

01643-32460

WASHER

14

209-939-5410

BUSHING

15

209-939-0012

SHIM ASS'Y

|15

SHIM¤ 1.0MM

|15

SHIM¤ 0.5MM

Выбрано товаров: 17