Запчасти Komatsu PC710SE-5 ПОВОРОТН. КЛАПАН (КРЕПЛЕНИЕ ЧАСТИ) ГИДРАВЛИКА
FIT
1:1
100%
№
Артикул
Название
Примечание
Количество
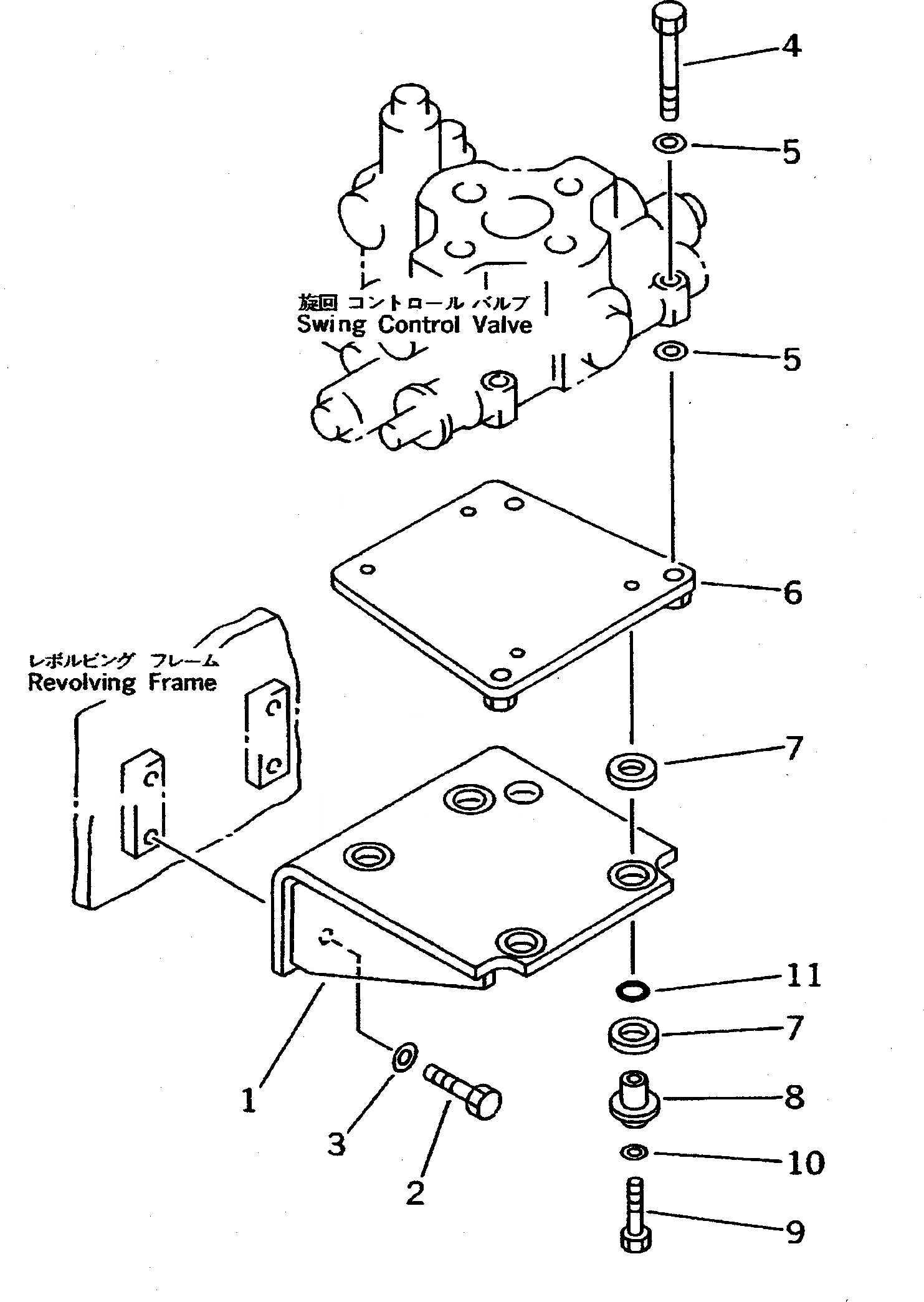
1
209-62-52541
BRACKET
2
01010-51230
BOLT
3
01643-31232
WASHER
4
01010-51295
BOLT
5
01643-31232
WASHER
6
209-62-52550
BRACKET
7
206-62-41430
CUSHION
8
206-62-41440
COLLAR
9
01010-51050
BOLT
10
01643-31032
WASHER
11
07000-02020
O-RING
Выбрано товаров: 11