Запчасти Komatsu PC710SE-5 ПОВОРОТН. НАСОС (7/7) ГИДРАВЛИКА

Схема запчастей Komatsu PC710SE-5 - ПОВОРОТН. НАСОС (7/7) ГИДРАВЛИКА
FIT
1:1
100%

Артикул

Название

Примечание

Количество

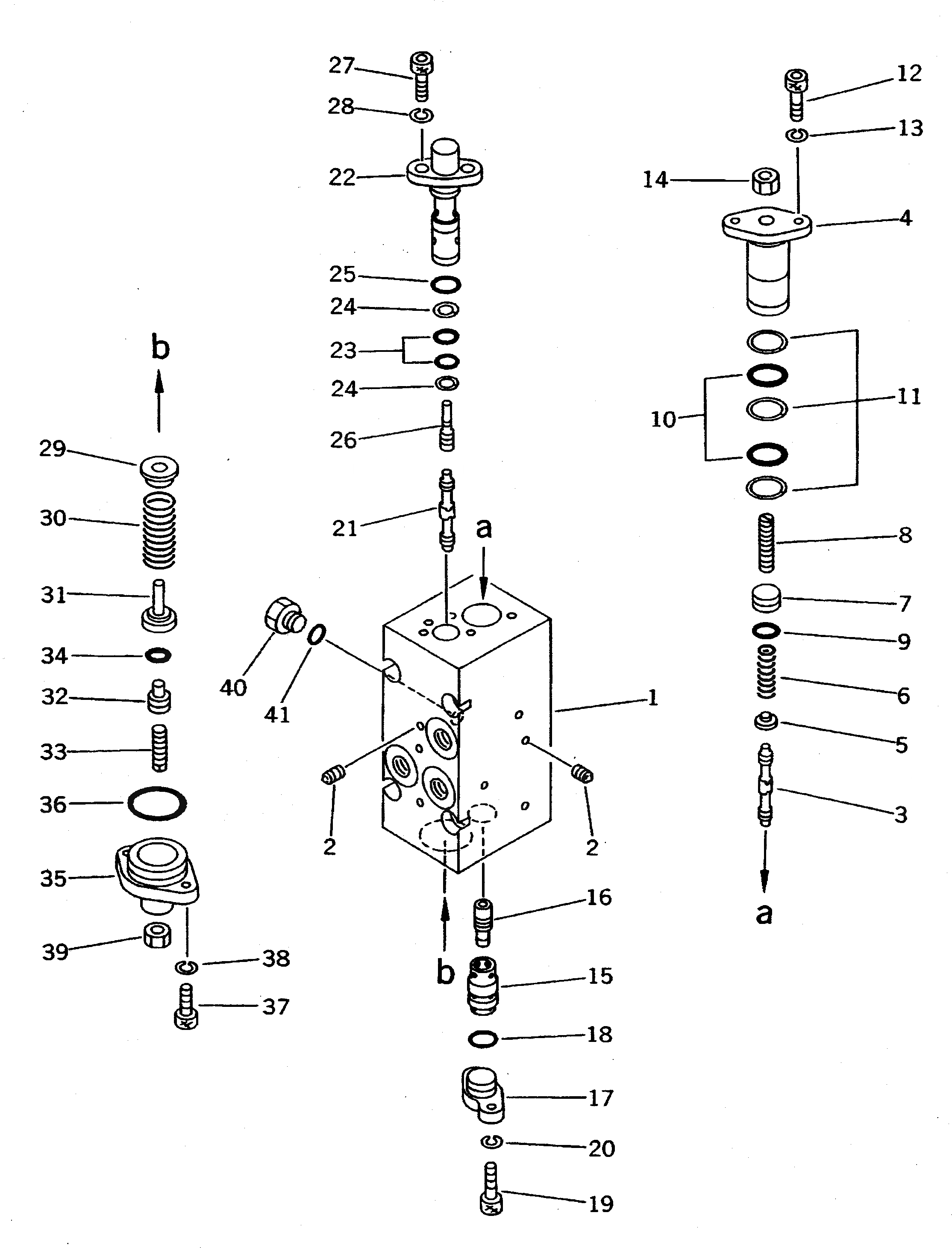
|1

708-17-01040

PUMP ASS'Y,(HPV 160)

|1

708-17-07130

SERVO VALVE ASS'Y

|1

708-17-07530

VALVE ASS'Y,CO AND NC

|1

708-23-00430

BODY ASS'Y

1

BODY

2

EXPANDER

3

708-25-17141

SPOOL

4

708-25-17131

COVER

5

708-25-17180

SEAT

6

708-25-17690

SPRING

7

708-25-17460

PLUG

8

708-25-17430

SCREW

9

07000-02012

O-RING

10

07000-12021

O-RING

11

07001-02021

RING,BACK-UP

12

708-25-15320

BOLT

13

01602-20619

WASHER,SPRING

14

01580-10806

NUT

15

708-25-17150

SLEEVE

16

708-25-17160

PISTON

17

708-25-17170

COVER

18

07000-02014

O-RING

19

708-25-15320

BOLT

20

01602-20619

WASHER,SPRING

21

708-25-17141

SPOOL

22

708-25-17451

SLEEVE

23

07000-12012

O-RING

24

07001-02012

RING,BACK-UP

25

07000-02012

O-RING

26

708-25-17220

PISTON

27

708-25-15320

BOLT

28

01602-20619

WASHER,SPRING

29

708-25-17370

SEAT

30

708-25-17250

SPRING

31

708-25-17260

SEAT

32

708-25-17410

PLUG

33

708-25-15340

SCREW

34

07000-01009

O-RING

35

708-25-17350

COVER

36

07000-03028

O-RING

37

708-25-15320

BOLT

38

01602-20619

WASHER,SPRING

39

01580-10806

NUT

40

07040-11007

PLUG

41

07002-11023

O-RING

Выбрано товаров: 45