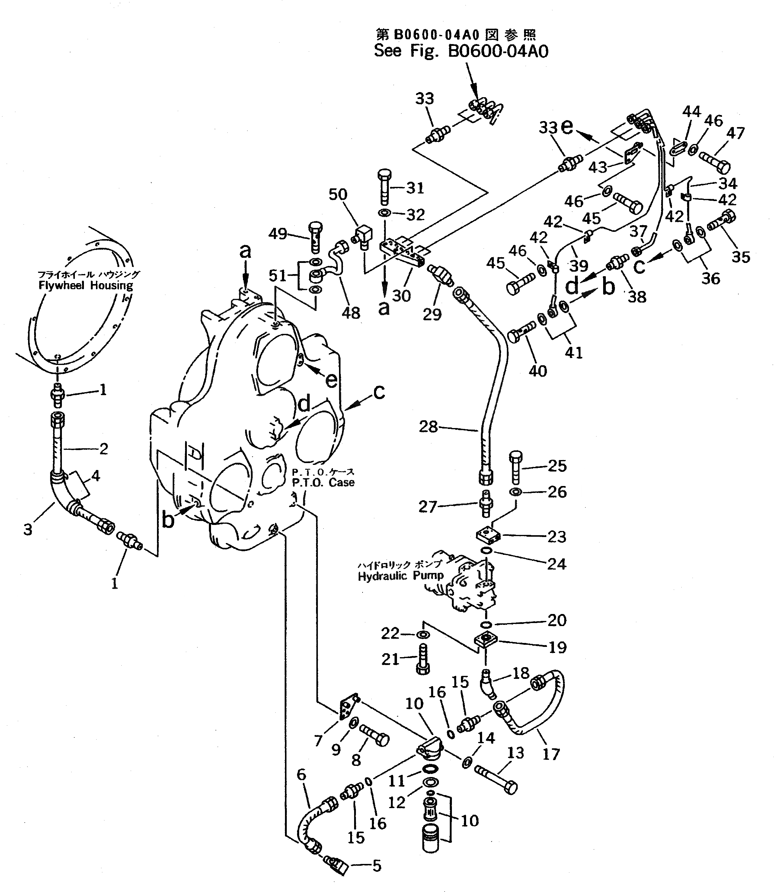
Запчасти Komatsu PC710SE-5 МЕХ-М ОТБОРА МОЩНОСТИ (ТРУБЫ) (НАСОС ) КОМПОНЕНТЫ ДВИГАТЕЛЯ

Схема запчастей Komatsu PC710SE-5 - МЕХ-М ОТБОРА МОЩНОСТИ (ТРУБЫ) (НАСОС ) КОМПОНЕНТЫ ДВИГАТЕЛЯ
FIT
1:1
100%

Артикул

Название

Примечание

Количество

1

15R-911-3190

NIPPLE

2

07102-20403

HOSE

3

205-62-72140

COVER

4

08034-00414

BAND

5

10T-49-13130

ELBOW

6

07102-20503

HOSE

7

209-38-51261

BRACKET

8

01010-51025

BOLT

9

01643-31032

WASHER

|$10

209-38-12460

FILTER ASS'Y

10

209-38-12470

ELEMENT

11

209-38-12480

O-RING

12

209-38-12490

RING

13

01010-50660

BOLT

14

01643-30623

WASHER

15

15R-62-18150

NIPPLE

16

07002-31823

O-RING

17

07102-20507

HOSE

18

124-49-21290

NIPPLE

19

209-38-51271

BLOCK

20

07000-33035

O-RING

21

01010-51030

BOLT

22

01643-31032

WASHER

23

209-38-51451

FLANGE

24

07000-33032

O-RING

25

01010-50840

BOLT

26

01643-30823

WASHER

27

12F-62-21160

NIPPLE

28

07102-20309

HOSE

29

144-04-51130

ELBOW

30

209-38-51292

BLOCK

31

01010-51255

BOLT

32

01643-31232

WASHER

33

07213-50710

CONNECTOR

34

209-38-51343

TUBE

35

07206-30710

BOLT

36

07005-01012

SEAL, WASHER

37

209-38-51324

TUBE

38

07213-50710

CONNECTOR

39

209-38-51313

TUBE

40

07206-30710

BOLT

41

07005-01012

SEAL, WASHER

42

21T-38-12270

CLIP

43

21T-38-71290

CLAMP

44

6144-73-5510

CLAMP

45

01010-51020

BOLT

46

01643-31032

WASHER

47

01010-51035

BOLT

48

209-38-51352

TUBE

49

209-38-51441

BOLT

50

176-43-41350

ELBOW

51

07005-01012

SEAL, WASHER

Выбрано товаров: 0