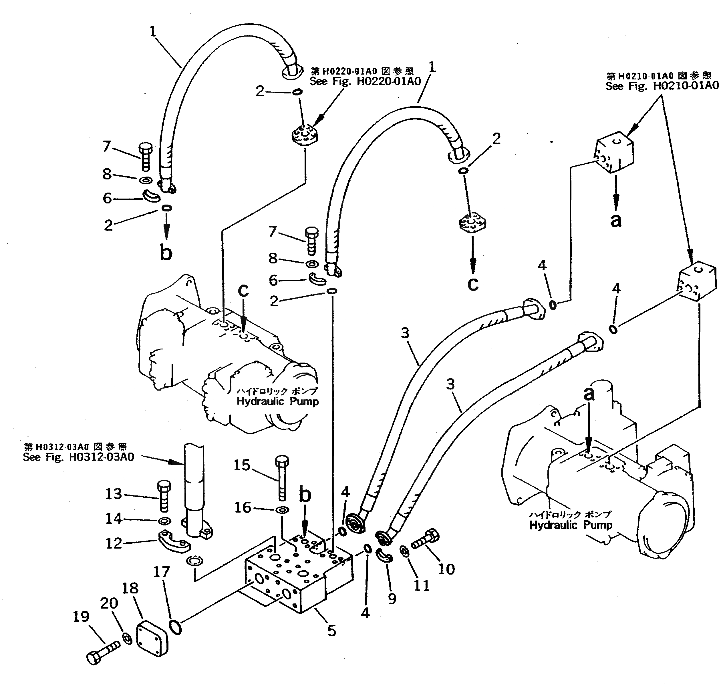
Запчасти Komatsu PC710SE-5 ПОДАЮЩ. ТРУБЫ (НАСОС - БЛОК) ГИДРАВЛИКА

Схема запчастей Komatsu PC710SE-5 - ПОДАЮЩ. ТРУБЫ (НАСОС - БЛОК) ГИДРАВЛИКА
FIT
1:1
100%

Артикул

Название

Примечание

Количество

1

07085-01012

HOSE

2

21T-09-11460

O-RING

3

07083-01011

HOSE

4

21T-09-11460

O-RING

5

209-62-51280

BLOCK

6

07371-31049

FLANGE

7

07372-21035

BOLT

8

01643-51032

WASHER

9

07371-31049

FLANGE

10

07372-21035

BOLT

11

01643-51032

WASHER

12

07371-51470

FLANGE

13

01010-51455

BOLT

14

01643-31445

WASHER

15

01011-51210

BOLT

16

01643-31232

WASHER

17

21T-09-11510

O-RING

18

209-62-52220

PLATE

19

01010-51455

BOLT

20

01643-31445

WASHER

Выбрано товаров: 20