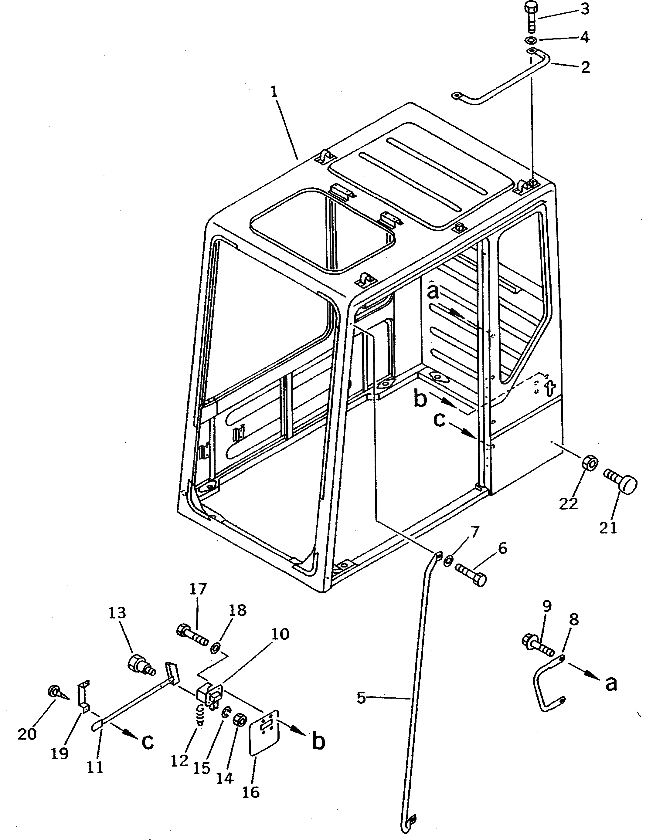
Запчасти Komatsu PC710SE-5 КАБИНА(№-9) КАБИНА ОПЕРАТОРА И СИСТЕМА УПРАВЛЕНИЯ

Схема запчастей Komatsu PC710SE-5 - КАБИНА(№-9) КАБИНА ОПЕРАТОРА И СИСТЕМА УПРАВЛЕНИЯ
FIT
1:1
100%

Артикул

Название

Примечание

Количество

|$1

209-54-00146

OPERATOR'S CAB ASS'Y

|$2

209-54-00143

OPERATOR'S CAB ASS'Y

1

209-54-61112

CAB

1

209-54-61110

CAB

2

209-54-61162

GRIP

2

209-54-61161

GRIP

3

01010-51025

BOLT

4

01643-31032

WASHER

5

20Y-54-11770

GRIP

6

20Y-43-12160

BOLT

7

01643-71032

WASHER

8

20Y-54-11783

GRIP

9

20Y-54-14360

BOLT

|$15

20Y-54-11890

LOCK ASS'Y

10

20Y-54-13530

LOCK

11

20Y-54-13540

LEVER

12

20Y-54-13550

SPRING

13

20Y-54-13560

PIN

14

01580-10605

NUT

15

01602-20619

WASHER

16

20Y-54-14530

PLATE

17

01010-50825

BOLT

18

01643-30823

WASHER

19

20Y-54-11490

BRACKET

20

01370-00412

SCREW

21

20Y-54-11611

STOPPER

22

01580-11008

NUT

Выбрано товаров: 27