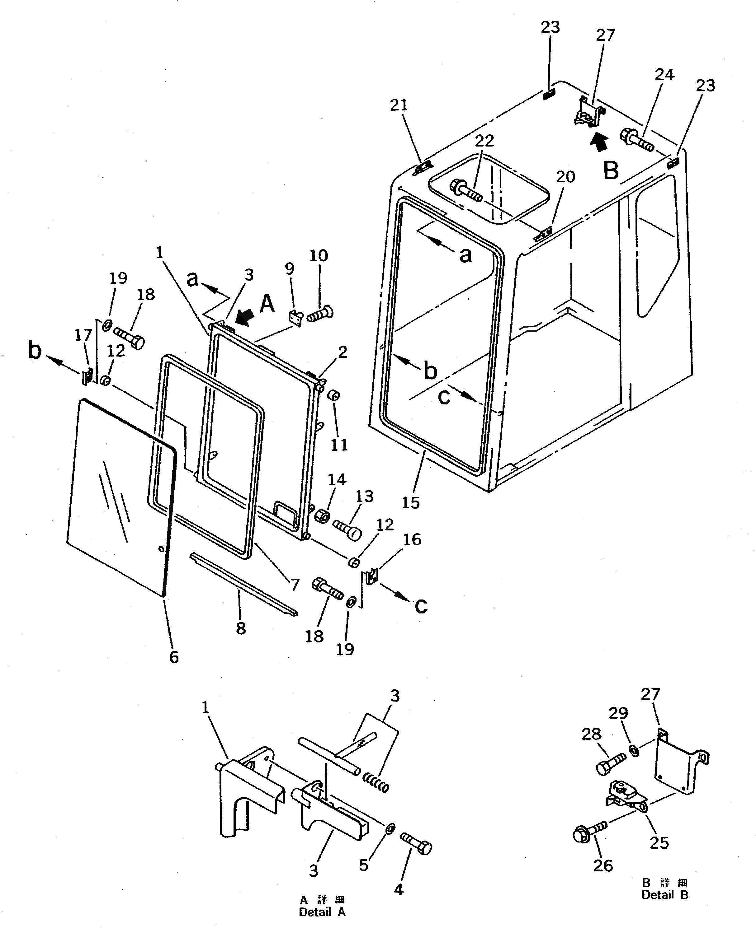
Запчасти Komatsu PC710SE-5 КАБИНА (ПЕРЕДН. ОКНА)(№-7) КАБИНА ОПЕРАТОРА И СИСТЕМА УПРАВЛЕНИЯ

Схема запчастей Komatsu PC710SE-5 - КАБИНА (ПЕРЕДН. ОКНА)(№-7) КАБИНА ОПЕРАТОРА И СИСТЕМА УПРАВЛЕНИЯ
FIT
1:1
100%

Артикул

Название

Примечание

Количество

|$1

209-54-00146

OPERATOR'S CAB ASS'Y

|$3

20Y-54-00034

WINDOW ASS'Y

1

20Y-54-14711

WINDOW

2

20Y-54-14681

LATCH ASS'Y

3

20Y-54-14691

LATCH ASS'Y

4

20Y-54-14750

BOLT

5

01643-70823

WASHER

6

20Y-54-11311

GLASS

7

20Y-54-13920

WEATHER STRIP

8

20Y-54-11821

SEAL

9

20Y-54-14310

STRIKER

10

20Y-54-14280

SCREW

11

20Y-54-11580

ROLLER

12

20Y-54-11570

ROLLER

13

20Y-54-14290

STOPPER

14

01580-11008

NUT

15

20Y-54-11831

TRIM

16

20Y-54-14480

BRACKET,L.H.

17

20Y-54-14490

BRACKET,R.H.

18

01010-50825

BOLT

19

01643-30823

WASHER

20

20Y-54-11532

DOVE TAIL,L.H.

21

20Y-54-11542

DOVE TAIL,R.H.

22

01435-01016

BOLT

23

20Y-54-14721

LOCK

24

01435-00816

BOLT

25

205-54-63310

LOCK ASS'Y

26

01435-00820

BOLT

27

20Y-54-13910

BRACKET

28

01010-51020

BOLT

29

01643-31032

WASHER

Выбрано товаров: 31