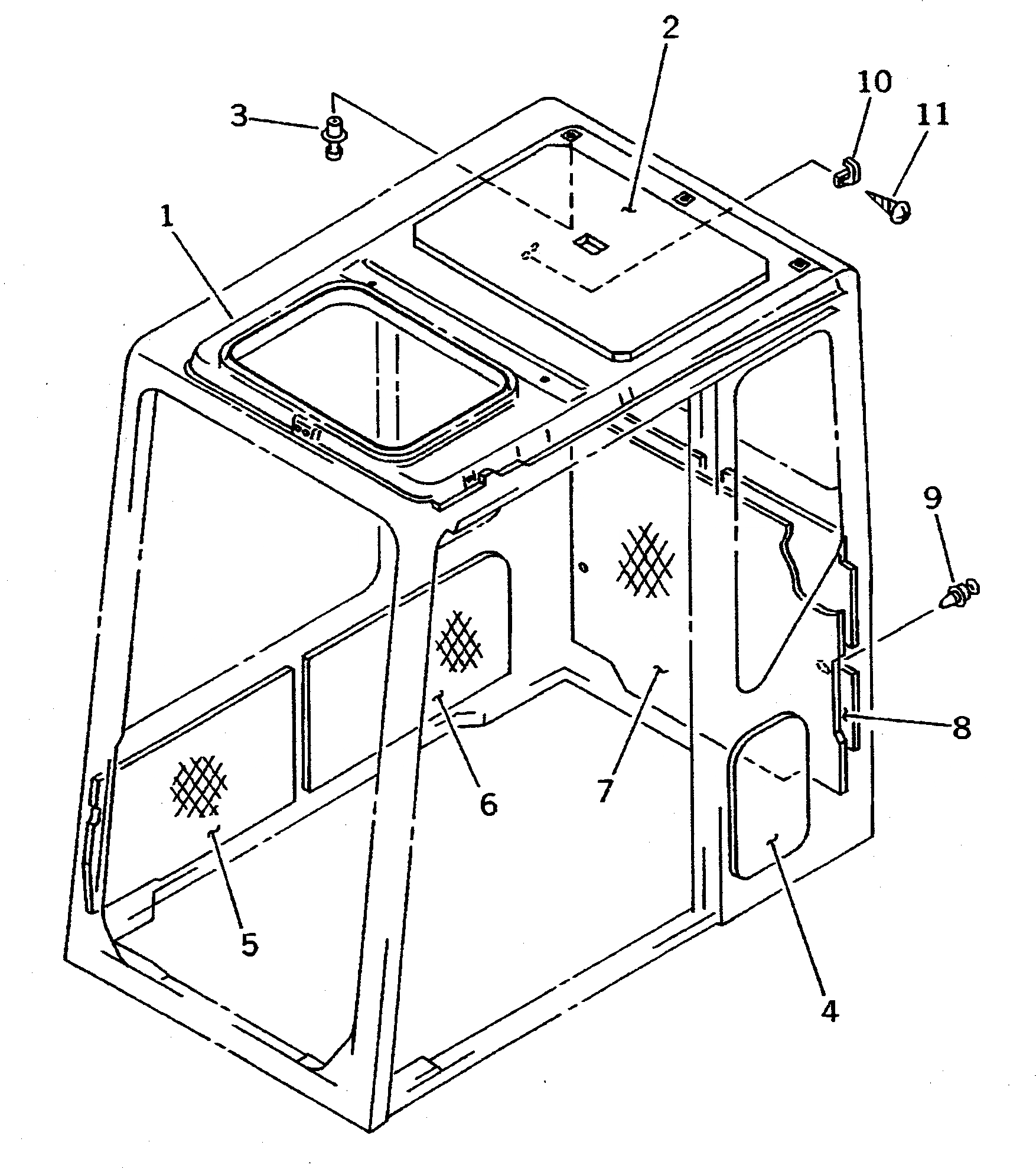
Запчасти Komatsu PC710SE-5 КАБИНА (ВНУТР. ПОКРЫТИЕ)(№-9) КАБИНА ОПЕРАТОРА И СИСТЕМА УПРАВЛЕНИЯ

Схема запчастей Komatsu PC710SE-5 - КАБИНА (ВНУТР. ПОКРЫТИЕ)(№-9) КАБИНА ОПЕРАТОРА И СИСТЕМА УПРАВЛЕНИЯ
FIT
1:1
100%

Артикул

Название

Примечание

Количество

|$1

209-54-00146

OPERATOR'S CAB ASS'Y

|$2

209-54-00143

OPERATOR'S CAB ASS'Y

1

20Y-54-11924

COVER

2

20Y-54-11961

SHEET

3

20Y-54-13870

RIVET

4

20Y-54-11952

LINING

5

20Y-54-13432

LINING

6

20Y-54-11942

LINING

7

20Y-54-11913

COVER

8

20Y-54-13933

SHEET

9

20Y-54-14560

CLIP ASS'Y

10

205-54-51250

HANGER

11

01370-00412

SCREW

Выбрано товаров: 13