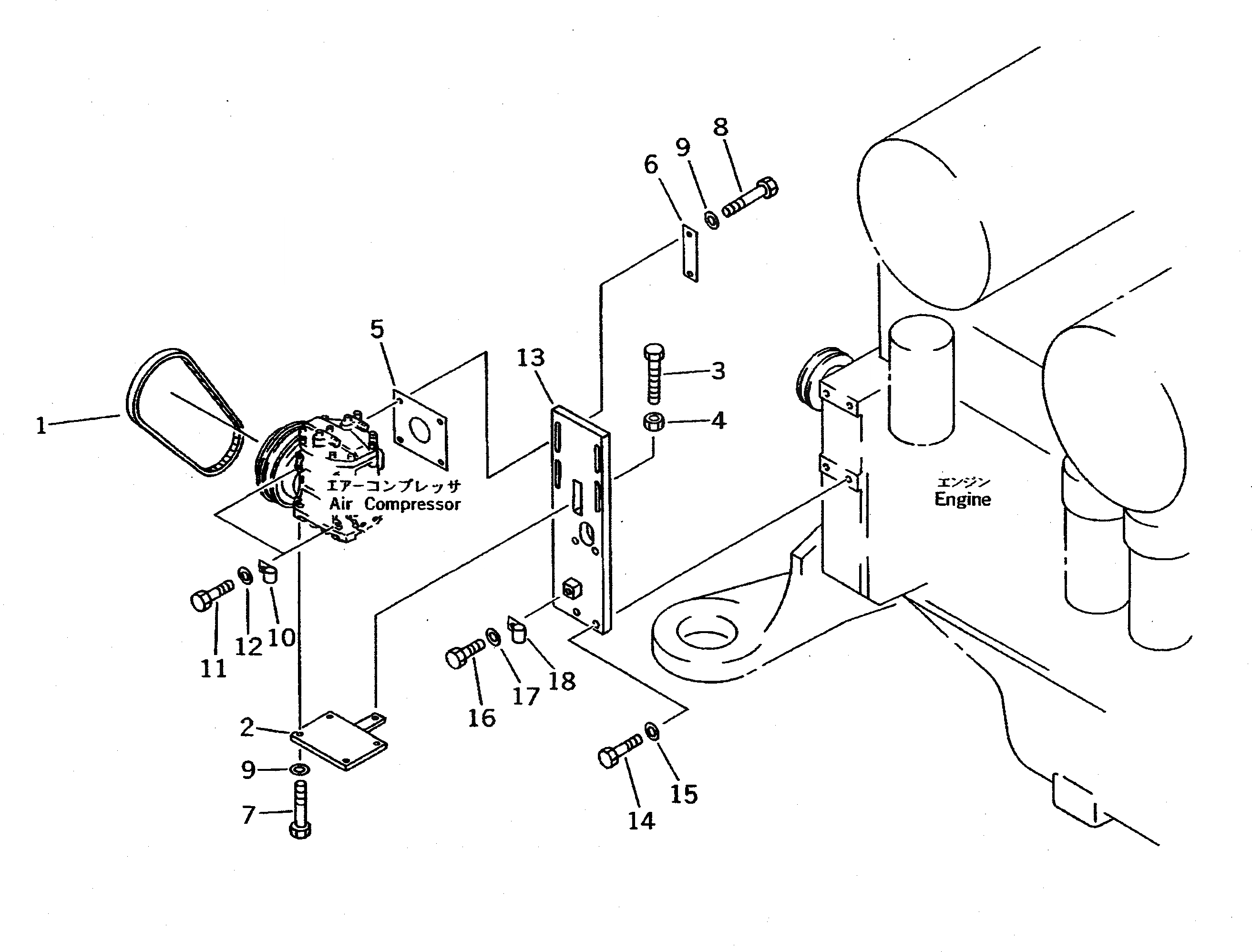
Запчасти Komatsu PC710SE-5 КОНДИЦ. ВОЗДУХА (КОМПРЕССОР КОРПУС)(№-9) КАБИНА ОПЕРАТОРА И СИСТЕМА УПРАВЛЕНИЯ

Схема запчастей Komatsu PC710SE-5 - КОНДИЦ. ВОЗДУХА (КОМПРЕССОР КОРПУС)(№-9) КАБИНА ОПЕРАТОРА И СИСТЕМА УПРАВЛЕНИЯ
FIT
1:1
100%

Артикул

Название

Примечание

Количество

1

04120-21735

V-BELT

2

209-979-5310

PLATE

3

01017-51200

BOLT

4

01580-11210

NUT

5

21N-979-1231

PLATE

6

21N-979-1240

PLATE

7

01010-50835

BOLT

8

01010-50840

BOLT

9

01643-30823

WASHER

10

08036-10814

CLIP

11

01010-50816

BOLT

12

01643-30823

WASHER

13

209-979-6110

BRACKET

14

01010-51035

BOLT

15

01643-31032

WASHER

16

01010-51020

BOLT

17

01643-31032

WASHER

18

112-946-4170

CLIP

Выбрано товаров: 18