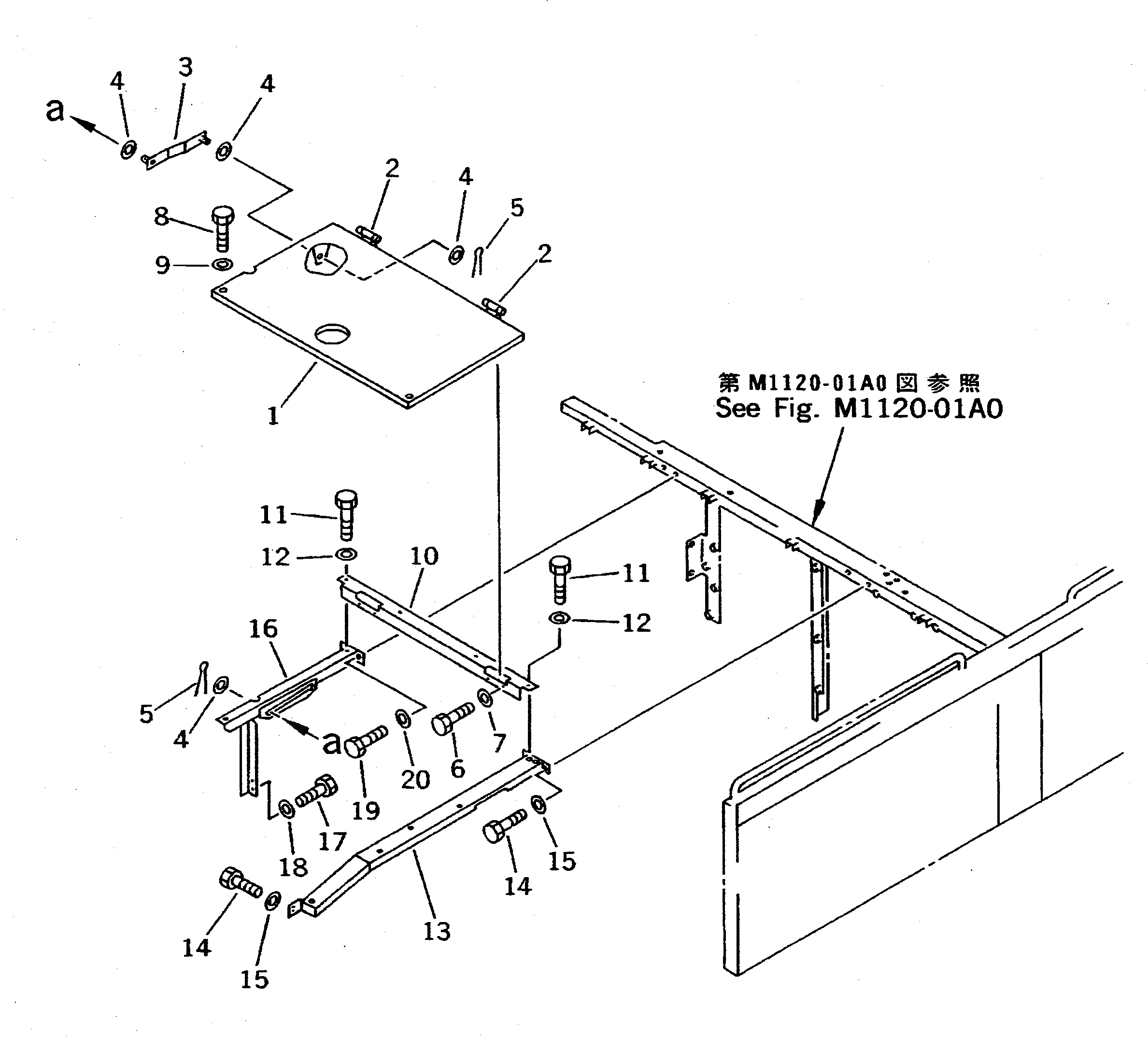
Запчасти Komatsu PC710SE-5 КРЫШКА(ACCESS COVER) ЧАСТИ КОРПУСА

Схема запчастей Komatsu PC710SE-5 - КРЫШКА(ACCESS COVER) ЧАСТИ КОРПУСА
FIT
1:1
100%

Артикул

Название

Примечание

Количество

1

209-54-53352

COVER

2

205-54-64160

HINGE

3

209-54-53151

STAY

4

01643-31645

WASHER

5

04050-14028

PIN

6

01010-51230

BOLT

7

01643-31232

WASHER

8

01010-51230

BOLT

9

01643-31232

WASHER

10

209-54-53360

COVER

11

01010-51230

BOLT

12

01643-31232

WASHER

13

209-54-53521

BRACKET

14

01010-51230

BOLT

15

01643-31232

WASHER

16

209-54-53542

BRACKET

17

01010-51230

BOLT

18

01643-31232

WASHER

19

01010-51230

BOLT

20

01643-31232

WASHER

Выбрано товаров: 20