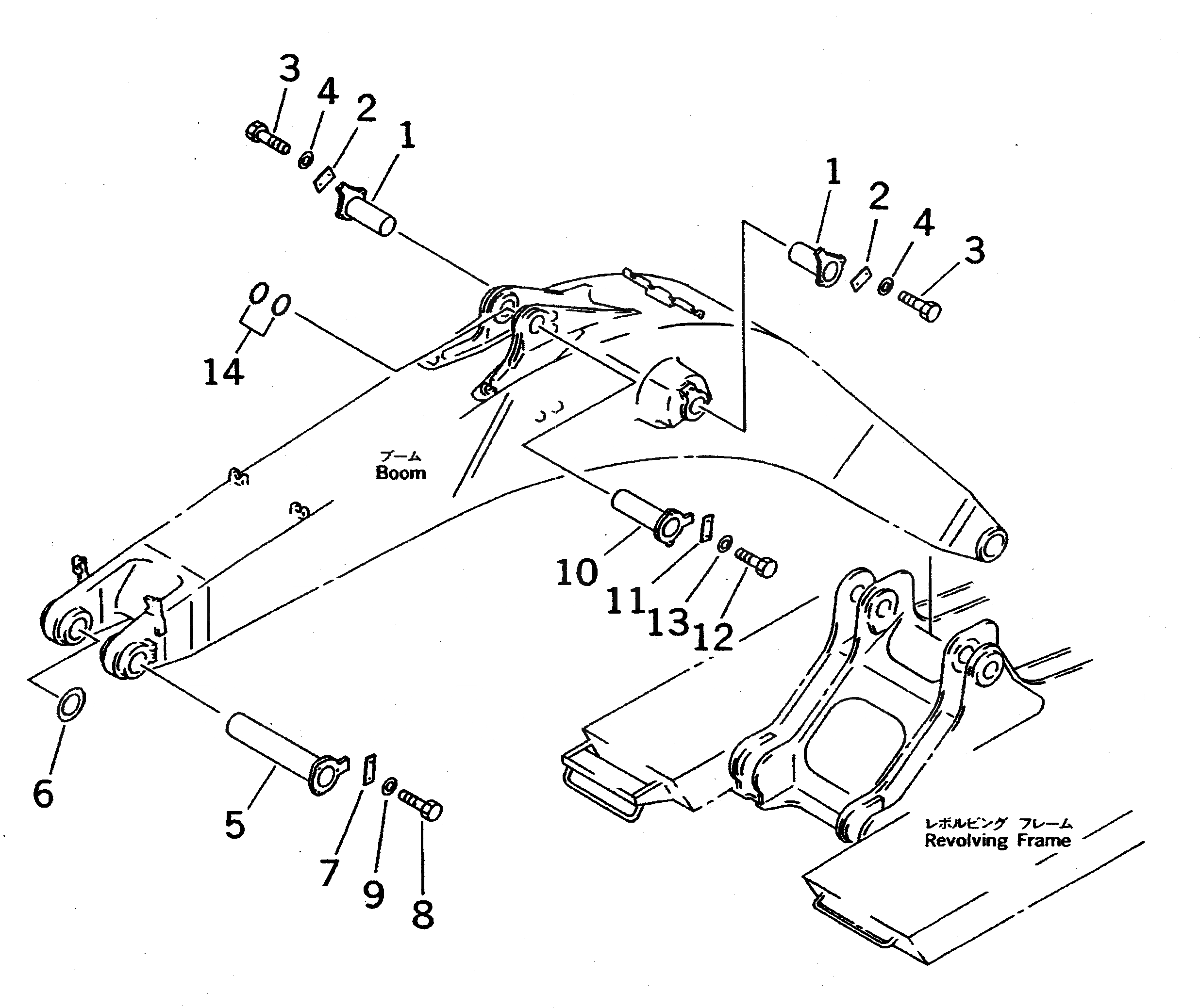
Запчасти Komatsu PC710SE-5 КОРОТК. СТРЕЛА (СТРЕЛА ПАЛЕЦ) (ЭКСКАВАТ.)(№-) РАБОЧЕЕ ОБОРУДОВАНИЕ

Схема запчастей Komatsu PC710SE-5 - КОРОТК. СТРЕЛА (СТРЕЛА ПАЛЕЦ) (ЭКСКАВАТ.)(№-) РАБОЧЕЕ ОБОРУДОВАНИЕ
FIT
1:1
100%

Артикул

Название

Примечание

Количество

1

209-70-57140

PIN

2

21N-70-11230

PLATE

3

01010-51640

BOLT

4

01643-31645

WASHER

5

209-70-57160

PIN

6

209-72-11180

SHIM, 1.0MM

7

21N-70-11230

PLATE

8

01010-51640

BOLT

9

01643-31645

WASHER

10

209-70-57150

PIN

11

21N-70-11230

PLATE

12

01010-51640

BOLT

13

01643-31645

WASHER

14

07000-12130

O-RING

Выбрано товаров: 14