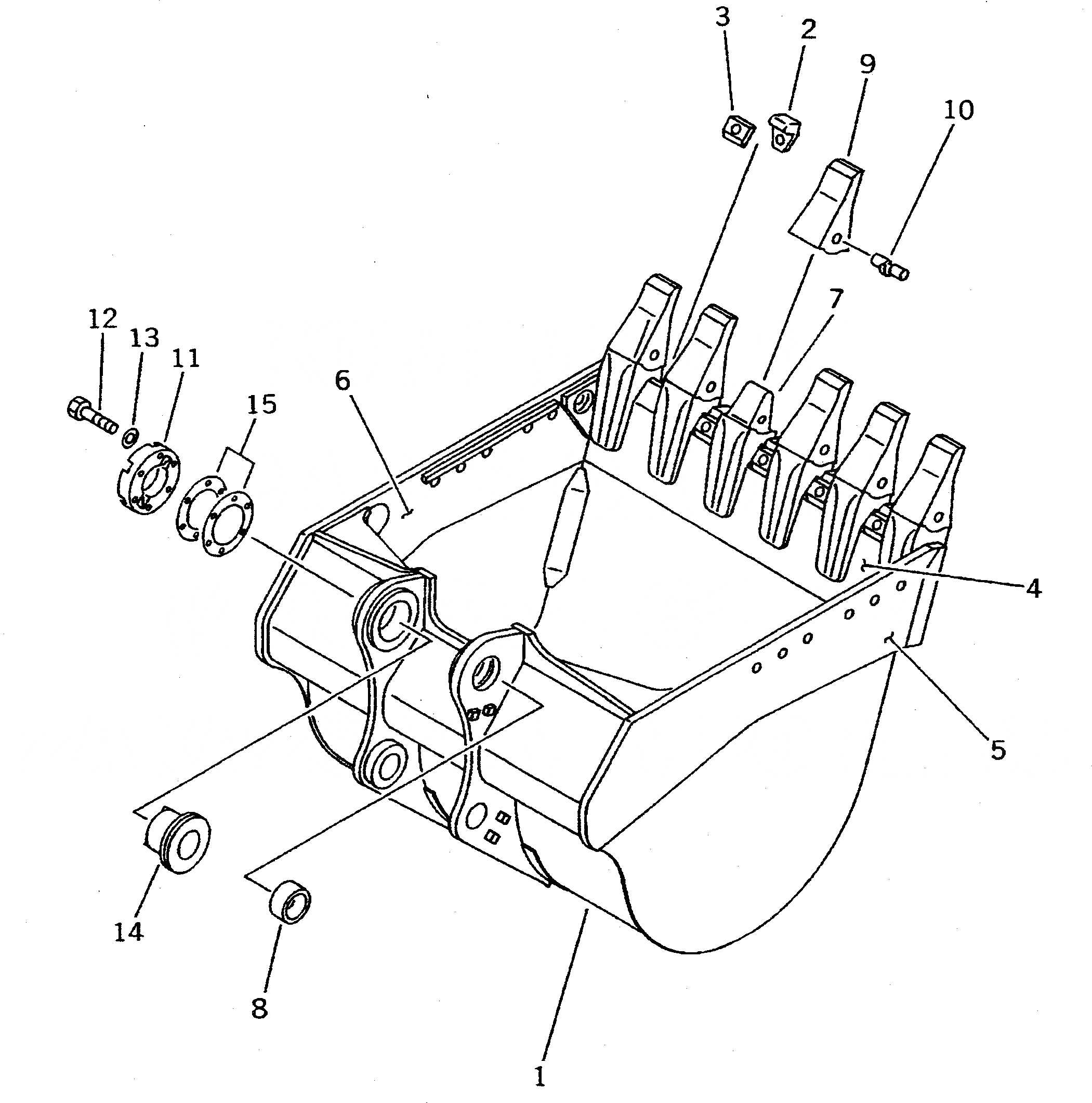
Запчасти Komatsu PC710SE-5 .8M. ГОРИЗОНТАЛЬН. ПАЛЕЦ КОВШ¤ 9MM(№-7) РАБОЧЕЕ ОБОРУДОВАНИЕ

Схема запчастей Komatsu PC710SE-5 - .8M. ГОРИЗОНТАЛЬН. ПАЛЕЦ КОВШ¤ 9MM(№-7) РАБОЧЕЕ ОБОРУДОВАНИЕ
FIT
1:1
100%

Артикул

Название

Примечание

Количество

|$1

209-939-0050

BUCKET ASS'Y

1

209-939-5151

BUCKET

2

208-934-5170

SHROUD (WELDED)

3

209-939-5210

PLATE (WELDED)

4

209-939-5390

PLATE (WELDED)

5

209-939-5371

PLATE,L.H. (WELDED)

6

209-939-5381

PLATE,R.H. (WELDED)

7

209-70-54143

ADAPTER (WELDED)

8

209-939-5451

BUSHING

9

209-70-54210

TOOTH

10

209-70-54240

PIN ASS'Y

11

209-939-5421

COVER

12

01010-52480

BOLT

13

01643-32460

WASHER

14

209-939-5410

BUSHING

15

209-939-0012

SHIM ASS'Y

15

SHIM, 1.0MM

15

SHIM, 0.5MM

Выбрано товаров: 18