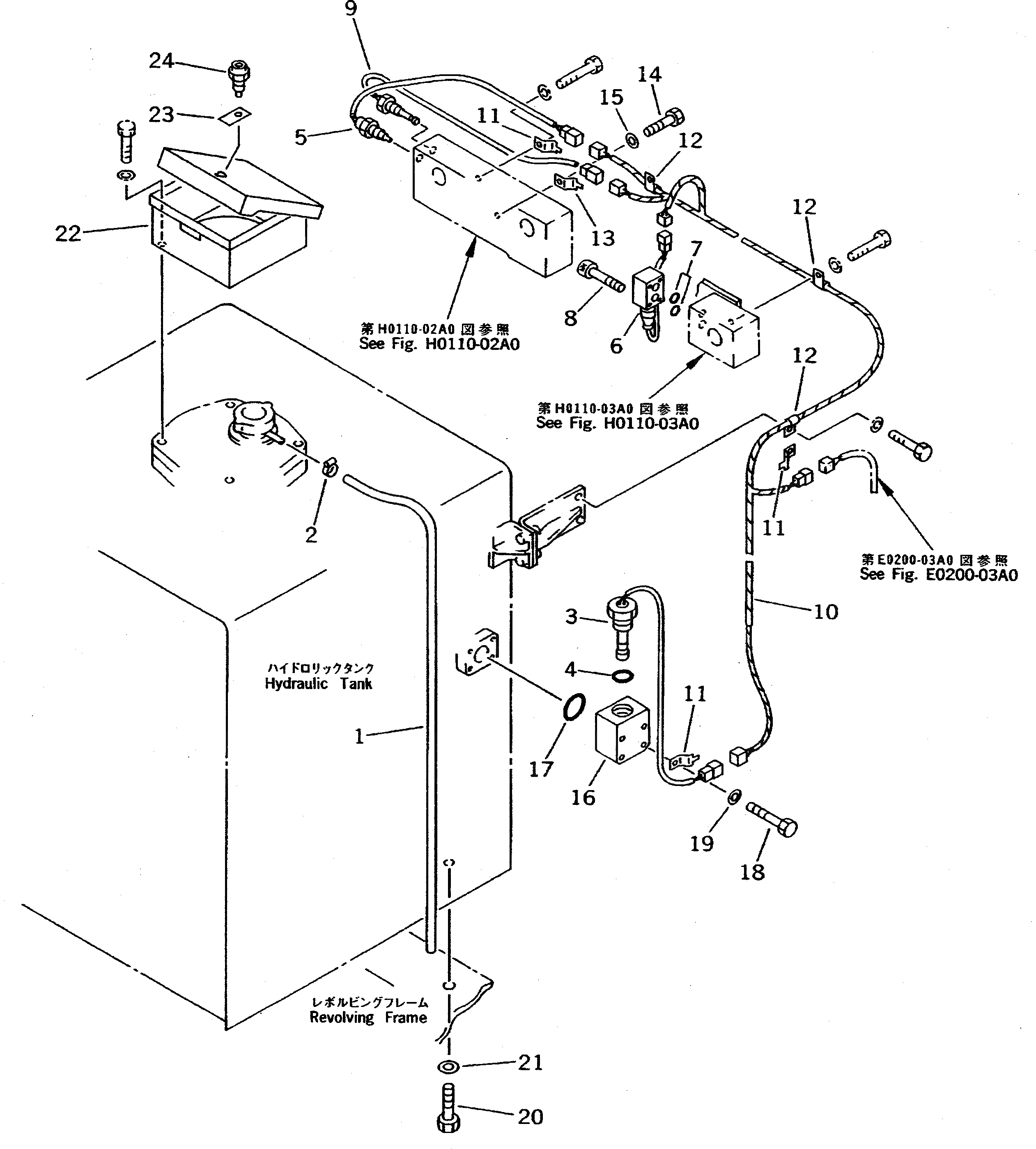
Запчасти Komatsu PC710SE-5 ГИДР. БАК. (ДАТЧИК) (ДЛЯ ЗАПЫЛЕНН. РАЙОНОВ) (КРОМЕ ЯПОН.)(№8-) ГИДРАВЛИКА

Схема запчастей Komatsu PC710SE-5 - ГИДР. БАК. (ДАТЧИК) (ДЛЯ ЗАПЫЛЕНН. РАЙОНОВ)     (КРОМЕ ЯПОН.)(№8-) ГИДРАВЛИКА
FIT
1:1
100%

Артикул

Название

Примечание

Количество

1

207-60-11350

TUBE

2

07280-01110

CLAMP

3

7861-92-4520

SENSOR

4

07002-23634

O-RING

5

209-06-61341

SENSOR ASS'Y

6

7861-92-1940

SWITCH

7

07000-02014

O-RING

8

01252-40640

BOLT

9

7861-92-3400

SWITCH,OIL TEMPERATURE

10

209-06-61231

WIRING HARNESS

11

08053-01512

CLIP

12

08036-01014

CLIP

13

08053-01512

CLIP

14

01010-51225

BOLT

15

01643-31232

WASHER

16

600-815-3210

CASE

17

07000-02055

O-RING

18

01010-51075

BOLT

19

01643-31032

WASHER

20

01010-52045

BOLT

21

01643-32060

WASHER

22

209-04-51320

COVER

23

205-60-71220

LOCK ASS'Y

24

205-54-76280

ROTOR ASS'Y

Выбрано товаров: 24