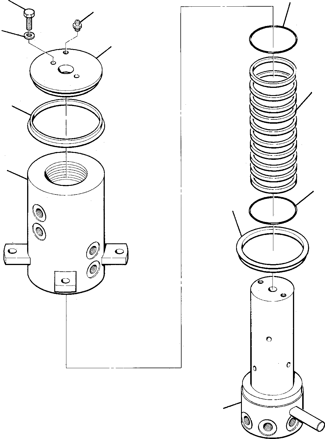
Запчасти Komatsu PC75-1 ПОВОРОТНОЕ СОЕДИНЕНИЕ УПРАВЛ-Е РАБОЧИМ ОБОРУДОВАНИЕМ

Схема запчастей Komatsu PC75-1 - ПОВОРОТНОЕ СОЕДИНЕНИЕ УПРАВЛ-Е РАБОЧИМ ОБОРУДОВАНИЕМ
8
1
3
2
4
9
7
5
8
10
6
FIT
1:1
100%

Артикул

Название

Примечание

Количество

\0

21D-60-14100

SWIVEL JOINT, ASSY.

1

01010-51030

BOLT

2

21D-09-73530

SPRING WASHER

3

21D-09-89140

FITTING

4

21D-60-14130

COVER

5

21D-60-14140

ROTOR

6

21D-60-14150

SHAFT

\6

21D-60-14160

KIT, GASKET

7

GASKET

8

O-RING

9

GASKET

10

GASKET

Выбрано товаров: 12