Запчасти Komatsu PC750-6 ЦИЛИНДР РУКОЯТИ(ДЛЯ ПОГРУЗ.)(№-) ОСНОВН. КОМПОНЕНТЫ И РЕМКОМПЛЕКТЫ

Схема запчастей Komatsu PC750-6 - ЦИЛИНДР РУКОЯТИ(ДЛЯ ПОГРУЗ.)(№-) ОСНОВН. КОМПОНЕНТЫ И РЕМКОМПЛЕКТЫ
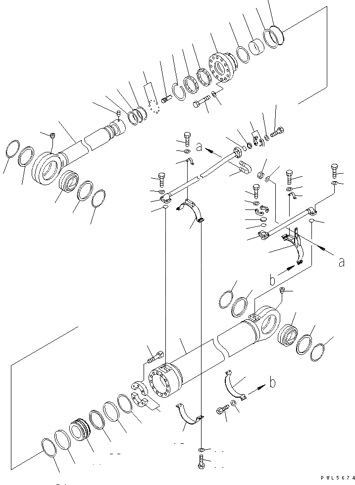
1
2
2A
2A
2B
2B
3
4
5
6
7
8
9
10
11
12
13
14
15
15A
15A
15B
15B
16
17
18
19
19
20
20
21
21
22
23
24
25
26
27
28
28A
29
29
30
30
31
31
32
32
33
34
35
35
36
36
37
37
38
38
39
39
40
41
42
43
43
44
44
45
45
46
46
47
47
FIT
1:1
100%

Артикул

Название

Примечание

Количество

G-1

707-01-XY890

CYLINDER GROUP,(FINAL COATING)

|$3

209-63-03330

CYLINDER ASS'Y

1

209-63-66740

CYLINDER

2

707-46-14010

BUSHING

2A

21T-72-15860

BUSHING

2B

21T-72-15870

SEAL (KIT)

3

07043-00108

PLUG

4

707-27-22660

HEAD,CYLINDER

5

707-51-16030

PACKING,ROD (KIT)

6

707-51-16630

RING,BUFFER (KIT)

7

707-52-91350

BUSHING

8

566-63-22241

SEAL,DUST (KIT)

9

07179-14180

RING,SNAP

10

07000-15220

O-RING (KIT)

11

07001-05220

RING,BACK-UP (KIT)

12

01011-83030

BOLT

13

01643-33080

WASHER

14

209-63-66720

ROD,PISTON

15

707-46-14010

BUSHING

15A

21T-72-15860

BUSHING

15B

21T-72-15870

SEAL (KIT)

16

07043-00108

PLUG

17

707-36-22300

PISTON

18

07000-15135

O-RING (KIT)

19

707-35-91440

RING,BACK-UP (KIT)

20

707-44-22920

RING

21

707-39-22820

RING,WEAR (KIT)

22

707-44-22280

RING,PISTON (KIT)

23

707-40-22870

SPACER

24

707-71-60350

PLUNGER

25

04260-01270

BALL

26

707-71-91050

SCREW

27

01252-61670

BOLT

28

707-86-14050

TUBE

28A

707-86-14060

TUBE

29

07000-13048

O-RING (KIT)

30

01010-81450

BOLT

31

01643-31445

WASHER

32

21N-62-18440

BAND

33

209-62-53250

BRACKET

34

707-88-22770

BRACKET

35

01010-81240

BOLT

36

01643-31232

WASHER

37

07282-14311

CLAMP

38

01010-81020

BOLT

39

01643-31032

WASHER

40

07283-34346

CLIP

41

01599-01011

NUT

42

01643-31032

WASHER

43

07000-13048

O-RING

44

07378-11410

HEAD

45

07371-51470

FLANGE

46

01010-41455

BOLT

47

01643-31445

WASHER

|$57

707-99-78690

SERVICE KIT

Выбрано товаров: 55