Запчасти Komatsu PC750-7-M1 ЭЛЕКТРОПРОВОДКА (ЗВУК. СИГНАЛ.) ЭЛЕКТРИКА

Схема запчастей Komatsu PC750-7-M1 - ЭЛЕКТРОПРОВОДКА (ЗВУК. СИГНАЛ.) ЭЛЕКТРИКА
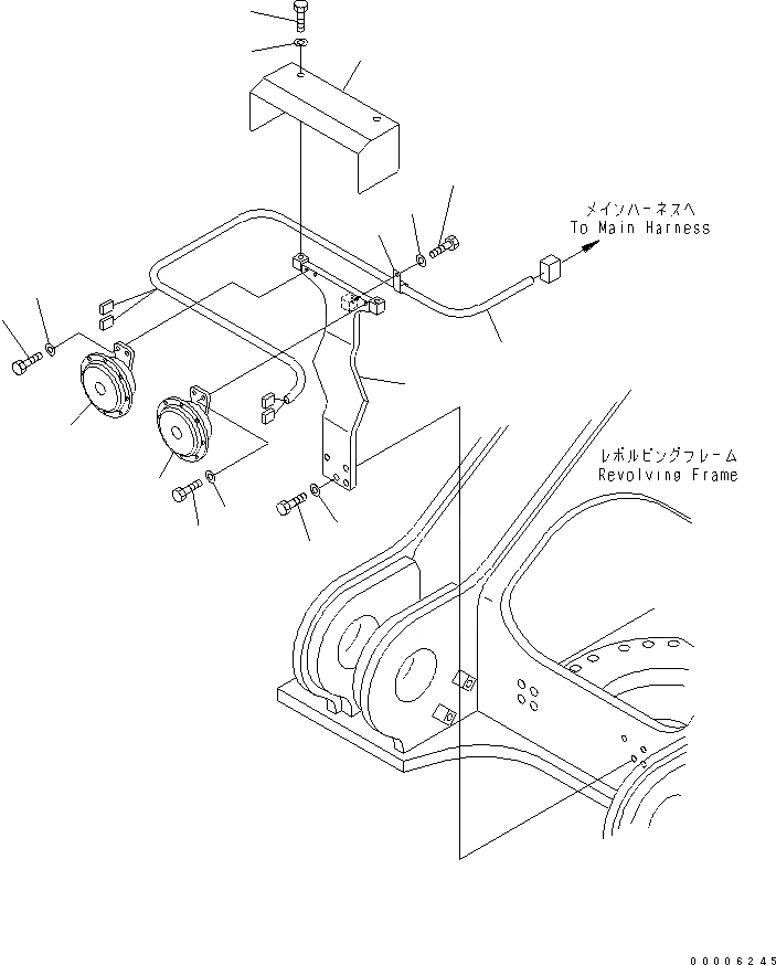
1
1
2
3
4
5
6
7
8
9
10
11
12
13
14
15
FIT
1:1
100%

Артикул

Название

Примечание

Количество

1

427-06-21210

HORN ASS'Y

2

01010-80825

BOLT

3

01643-30823

WASHER

4

01010-80825

BOLT

5

01643-30823

WASHER

6

209-06-77152

BRACKET

7

01010-81240

BOLT

8

01643-31232

WASHER

9

209-06-77161

COVER

10

01010-81225

BOLT

11

01643-31232

WASHER

12

209-06-77271

WIRING HARNESS

13

04434-51012

CLIP

14

01010-81225

BOLT

15

01643-31232

WASHER

Выбрано товаров: 15