Запчасти Komatsu PC750LC-6 СТРЕЛА (8.M) (СТРЕЛА ПАЛЕЦ) (ДЛЯ ЭКСКАВАТ.)(№-) РАБОЧЕЕ ОБОРУДОВАНИЕ

Схема запчастей Komatsu PC750LC-6 - СТРЕЛА (8.M) (СТРЕЛА ПАЛЕЦ) (ДЛЯ ЭКСКАВАТ.)(№-) РАБОЧЕЕ ОБОРУДОВАНИЕ
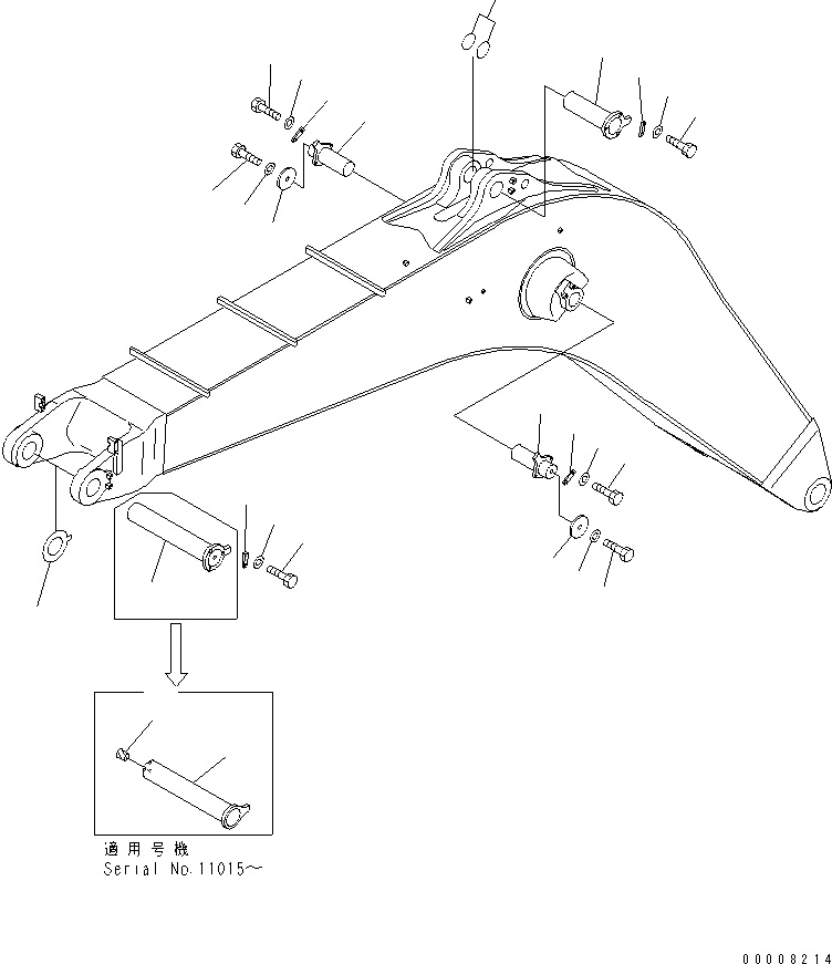
1
1
2
2
3
3
4
4
5
5
6
6
7
7
8
8
8A
9
10
11
12
13
14
15
16
17
FIT
1:1
100%

Артикул

Название

Примечание

Количество

1

209-70-57141

PIN

2

21N-70-11230

PLATE

3

01010-81640

BOLT

4

01643-31645

WASHER

5

209-70-71260

PLATE

6

01010-83075

BOLT

7

01643-33080

WASHER

8

209-70-71150

PIN

8

209-70-57161

PIN

8A

07049-02430

PLUG

9

209-70-71641

SHIM

9

209-70-71640

SHIM

10

21N-70-11230

PLATE

11

01010-81640

BOLT

12

01643-31645

WASHER

13

21N-72-13141

PIN

14

21N-70-11230

PLATE

15

01010-81640

BOLT

16

01643-31645

WASHER

17

07000-12130

O-RING

Выбрано товаров: 20