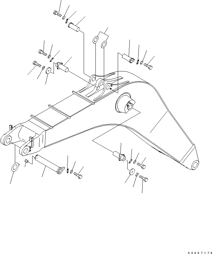
Запчасти Komatsu PC750LC-7K СТРЕЛА (СТРЕЛА ПАЛЕЦ) РАБОЧЕЕ ОБОРУДОВАНИЕ

Схема запчастей Komatsu PC750LC-7K - СТРЕЛА (СТРЕЛА ПАЛЕЦ) РАБОЧЕЕ ОБОРУДОВАНИЕ
1
1
2
2
3
3
4
4
5
5
6
6
7
7
8
9
10
11
12
13
14
14
15
15
16
16
17
17
18
FIT
1:1
100%

Артикул

Название

Примечание

Количество

1

209-70-57141

PIN

2

21N-70-11230

PLATE

3

01010-81640

BOLT

4

01643-31645

WASHER

5

209-70-71260

PLATE

6

01010-83075

BOLT

7

01643-33080

WASHER

8

209-70-71150

PIN

9

07049-02430

PLUG

10

209-70-71641

SHIM

11

21N-70-11230

PLATE

12

01010-81640

BOLT

13

01643-31645

WASHER

14

209-70-71331

PIN

15

21N-70-11230

PLATE

16

01010-81640

BOLT

17

01643-31645

WASHER

18

207-70-11360

SPACER¤ 1.0MM

Выбрано товаров: 18