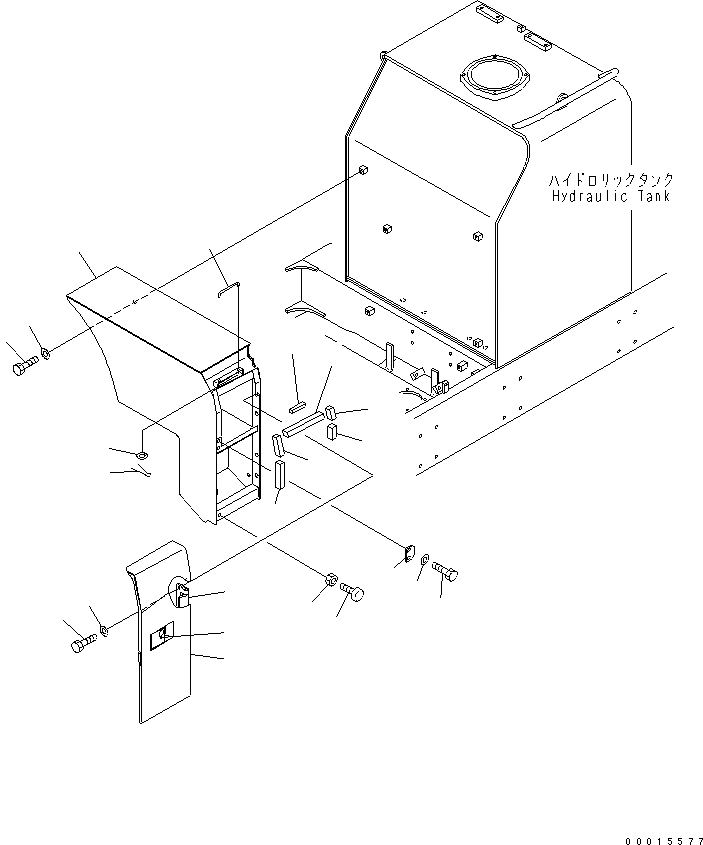
Запчасти Komatsu PC750LC-7K ГИДР. БАК. (ПЕРЕГОРОДКА.) ГИДРАВЛИКА

Схема запчастей Komatsu PC750LC-7K - ГИДР. БАК. (ПЕРЕГОРОДКА.) ГИДРАВЛИКА
1
2
3
4
5
6
7
8
9
10
11
12
13
14
15
16
17
18
19
20
21
22
FIT
1:1
100%

Артикул

Название

Примечание

Количество

1

209-53-13521

COVER

2

198-54-41982

LOCK ASS'Y

3

21M-54-11220

HINGE (WELDED)

4

01010-81230

BOLT

5

01643-31232

WASHER

6

209-53-13511

CASE

7

209-53-13530

SHEET

8

209-53-13540

SHEET

9

209-53-13550

SHEET

10

209-53-13560

SHEET

11

209-53-13570

SHEET

12

209-53-13580

SHEET

13

20Y-54-11611

STOPPER

14

01580-11008

NUT

15

21M-54-11771

PLATE

16

01010-81230

BOLT

17

01643-31232

WASHER

18

175-43-41261

ROD

19

01643-30623

WASHER

20

04050-11612

PIN

21

01010-81230

BOLT

22

01643-31232

WASHER

Выбрано товаров: 22