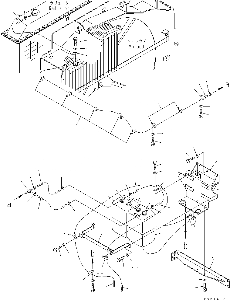
Запчасти Komatsu PC750SE-6K-01 ОХЛАЖД-Е (ВТОРИЧН. БАК)(№K-) СИСТЕМА ОХЛАЖДЕНИЯ

Схема запчастей Komatsu PC750SE-6K-01 - ОХЛАЖД-Е (ВТОРИЧН. БАК)(№K-) СИСТЕМА ОХЛАЖДЕНИЯ
1
1
2
2
3
4
5
5
6
7
7
8
8
8
9
9
10
10
11
12
13
14
14
15
15
16
17
18
18
19
20
20
21
22
22
22
23
24
25
26
27
28
29
30
31
32
33
34
35
36
37
FIT
1:1
100%

Артикул

Название

Примечание

Количество

1

209-03-77370

HOSE¤ 3700MM

2

07285-00110

CLIP

3

21N-03-32210

JOINT

4

209-03-77430

HOSE¤ 450MM

5

07285-00110

CLIP

6

209-03-77440

HOSE¤ 300MM

7

07285-00110

CLIP

8

04434-51212

CLIP

9

01010-81220

BOLT

10

01643-31232

WASHER

11

04434-50812

CLIP

12

01010-81220

BOLT

13

01643-31232

WASHER

14

21N-03-31490

TANK

15

21N-03-32360

CONNECTOR

16

21N-03-32350

CAP

17

08055-00282

CONNECTOR

18

203-03-41260

HOSE

19

07285-00110

CLIP

20

209-03-77420

HOSE¤ 2200MM

21

07285-00110

CLIP

22

04434-51212

CLIP

23

01010-81220

BOLT

24

01643-31232

WASHER

25

04435-51212

CLIP

26

01010-81220

BOLT

27

01643-31232

WASHER

28

209-03-77340

BAND

29

01010-80820

BOLT

30

01643-30823

WASHER

31

209-03-77351

BRACKET

32

205-03-71440

SHEET

33

01010-81230

BOLT

34

01643-31232

WASHER

35

209-03-77360

BRACKET

36

01010-81230

BOLT

37

01643-31232

WASHER

Выбрано товаров: 37