Запчасти Komatsu PC750SE-6K-J ОСНОВН. НАСОС (/) (NO. НАСОС)(№9-999) ОСНОВН. КОМПОНЕНТЫ И РЕМКОМПЛЕКТЫ

Схема запчастей Komatsu PC750SE-6K-J - ОСНОВН. НАСОС (/) (NO. НАСОС)(№9-999) ОСНОВН. КОМПОНЕНТЫ И РЕМКОМПЛЕКТЫ
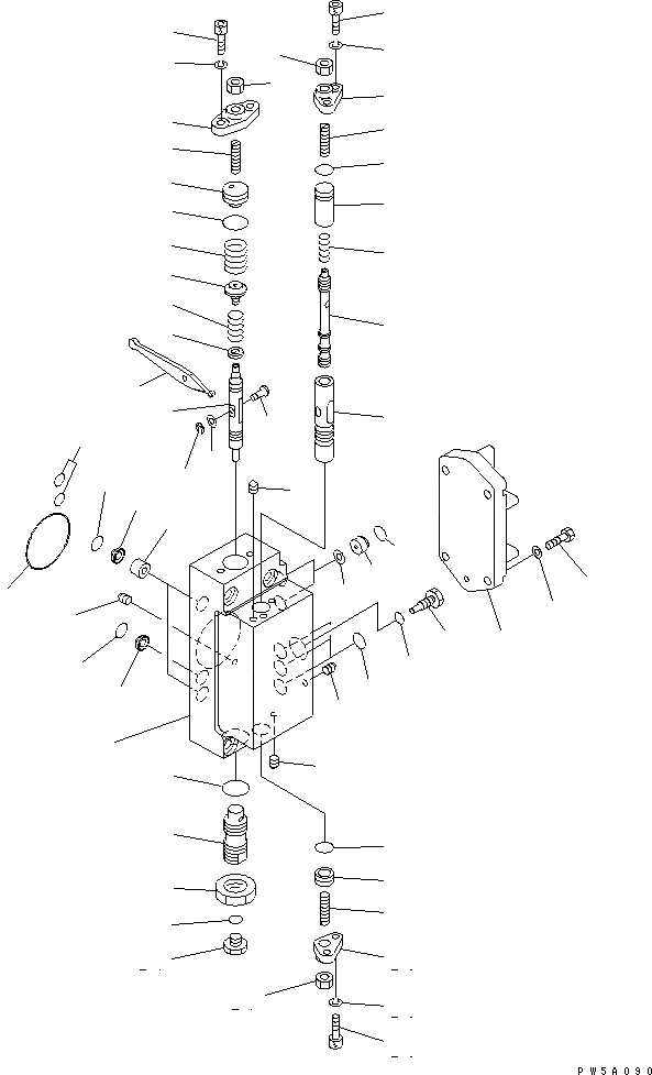
1
2
2
2
2
3
4
5
6
7
8
9
10
11
12
13
14
15
16
17
18
19
20
21
22
23
23
23
24
25
25
26
26
27
27
28
28
29
29
30
31
32
33
34
35
36
37
38
39
40
41
42
43
44
45
45
46
47
48
FIT
1:1
100%

Артикул

Название

Примечание

Количество

|1

708-2L-00620

PUMP ASS'Y

|1

708-25-09170

SERVO VALVE ASS'Y,FRONT

|1

708-23-00421

BODY ASS'Y

1

BODY

2

EXPANDER

3

708-25-15120

PISTON

4

708-25-15130

SEAT

5

708-25-55250

SPRING

6

708-25-25130

SPRING

7

708-23-15160

PLUG

8

708-23-15120

SEAT

9

07000-02018

O-RING

10

708-25-15150

COVER

11

01580-10806

NUT

12

708-25-15320

BOLT

13

01602-20619

WASHER

14

07002-02034

O-RING

15

07239-12009

NUT

16

708-25-15180

SLEEVE

17

708-25-15280

SPOOL

18

708-25-15310

SPRING

19

708-25-15330

SPACER

20

708-25-15171

PLUG

21

07040-11007

PLUG

22

07002-01023

O-RING

23

708-25-15340

SCREW

24

708-25-15430

PLUG

25

07000-02012

O-RING

26

708-25-15250

COVER

27

01580-10806

NUT

28

708-25-15320

BOLT

29

01602-20619

WASHER

30

708-25-15260

PLUG

31

07002-00823

O-RING

32

708-25-15270

ARM

33

708-25-15360

PIN

34

708-25-15370

WASHER

35

708-25-15380

E-RING

36

708-25-55110

PLATE

37

708-25-19290

PLUG

38

708-25-15460

SHIM¤ 0.05MM

|38

708-25-15470

SHIM¤ 0.10MM

39

07000-12010

O-RING

40

07000-02011

O-RING

41

01010-80825

BOLT

42

01643-50823

WASHER

43

708-25-19150

ORIFICE

44

720-68-11920

FILTER

45

07000-12010

O-RING

46

07000-11009

O-RING

47

07000-03048

O-RING

48

720-68-11920

FILTER

Выбрано товаров: 52