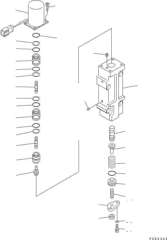
Запчасти Komatsu PC750SE-7-M1 ОСНОВН. НАСОС (/) (N. НАСОС) ОСНОВН. КОМПОНЕНТЫ И РЕМКОМПЛЕКТЫ

Схема запчастей Komatsu PC750SE-7-M1 - ОСНОВН. НАСОС (/) (N. НАСОС) ОСНОВН. КОМПОНЕНТЫ И РЕМКОМПЛЕКТЫ
1
2
3
4
5
6
6
7
8
8
8
8
9
9
9
9
10
11
12
13
14
15
16
17
18
19
20
21
21
22
FIT
1:1
100%

Артикул

Название

Примечание

Количество

|1

708-2L-00760

PUMP ASS'Y

|1

708-25-85280

SERVO VALVE ASS'Y,REAR

|1

708-25-09960

VALVE ASS'Y,TVC

|1

708-23-00451

BODY ASS'Y

1

BODY

2

PLUG

3

EXPANDER

4

708-27-18120

PISTON

5

708-27-18130

SLEEVE

6

708-27-18140

PISTON

7

708-23-15160

PLUG

8

07000-12016

O-RING

9

07001-02016

RING,BACK-UP

10

708-23-18161

SPOOL

11

708-23-18170

SEAT

12

708-25-18180

SPRING

13

708-25-15340

SCREW

14

07000-02018

O-RING

15

708-23-18210

COVER

16

01580-10806

NUT

17

708-2L-25190

SOLENOID ASS'Y

18

07000-02016

O-RING

19

708-23-18250

BOLT

20

708-25-15320

BOLT

21

708-27-18150

SLEEVE

22

01602-20619

WASHER

Выбрано товаров: 0