Запчасти Komatsu PC750SE-7K КАБИНА (ПЕРЕДН. НИЖН. ОКНА) КАБИНА ОПЕРАТОРА И СИСТЕМА УПРАВЛЕНИЯ

Схема запчастей Komatsu PC750SE-7K - КАБИНА (ПЕРЕДН. НИЖН. ОКНА) КАБИНА ОПЕРАТОРА И СИСТЕМА УПРАВЛЕНИЯ
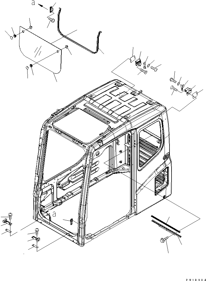
1
2
2
3
3
4
4
5
6
6
7
8
9
9
10
10
10
11
12
13
14
15
15
16
16
17
17
18
18
19
20
21
FIT
1:1
100%

Артикул

Название

Примечание

Количество

|1

209-54-00790

CAB ASS'Y

|1

20Y-54-51601

GLASS

1

20Y-54-51812

GLASS

2

22B-54-15970

RETAINER

3

22B-54-15980

KNOB

4

08037-02512

GROMMET

5

20Y-54-51862

SEAL

6

22B-54-15832

SEAT

7

22B-54-15781

SEAT

8

22B-54-15791

SEAT

9

22B-54-15580

PLATE

10

01023-20616

SCREW

11

20Y-54-52161

LOCK

12

20Y-54-52361

BRACKET

13

20Y-54-52171

LOCK

14

20Y-54-52371

BRACKET

15

01240-00620

SCREW

16

01245-00625

SCREW

17

01641-50608

WASHER

18

20Y-54-52380

PLATE

19

20Y-54-52122

PLATE

20

01435-00616

BOLT

21

20Y-54-52131

SEAL

Выбрано товаров: 23