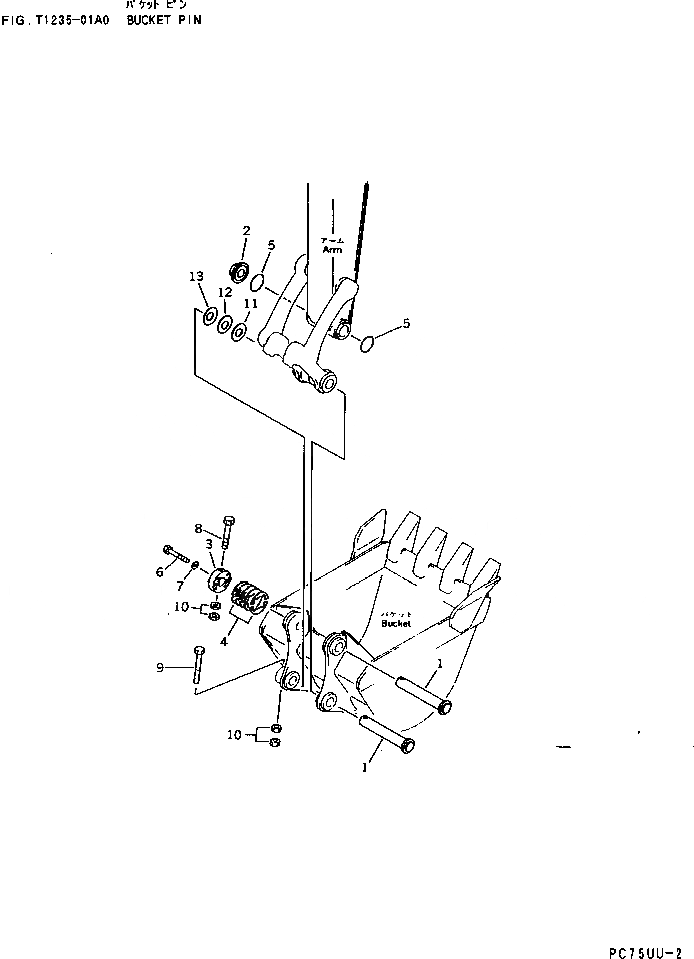
Запчасти Komatsu PC75UD-2 ПАЛЕЦ КОВША(№-7) РАБОЧЕЕ ОБОРУДОВАНИЕ

Схема запчастей Komatsu PC75UD-2 - ПАЛЕЦ КОВША(№-7) РАБОЧЕЕ ОБОРУДОВАНИЕ
FIT
1:1
100%

Артикул

Название

Примечание

Количество

1

201-70-64210

SHAFT

2

20X-70-24231

SPACER

3

20X-70-24241

PLATE

4

20X-70-24250

PLATE¤ 0.5MM

5

175-30-16210

O-RING

6

01010-51260

BOLT

7

01643-31232

WASHER

8

01011-51650

BOLT

9

01011-51630

BOLT

10

01580-11613

NUT

11

135-70-13290

SPACER¤ 3.2MM

12

135-70-13251

SPACER¤ 1.6MM

13

201-70-22150

SPACER¤ 1.0MM

Выбрано товаров: 13