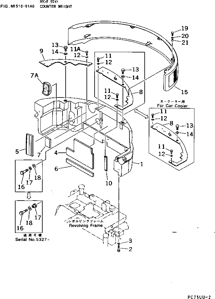
Запчасти Komatsu PC75UD-2E ПРОТИВОВЕС ЧАСТИ КОРПУСА

Схема запчастей Komatsu PC75UD-2E - ПРОТИВОВЕС ЧАСТИ КОРПУСА
FIT
1:1
100%

Артикул

Название

Примечание

Количество

1

21W-46-23112

WEIGHT,COUNTER

2

01010-52090

BOLT

3

01643-32060

WASHER

4

21W-46-23230

SHEET

5

21W-46-23240

SHEET

6

21W-46-23250

SHEET

7

21W-46-23260

SHEET

7A

21W-46-23280

SHEET

8

21W-46-23212

PLATE

|8

21W-46-23211

PLATE

|8

21W-978-2430

PLATE,(FOR CAR COOLER)

9

21W-46-23221

PLATE

10

21W-46-23270

PLATE

11

01010-51030

BOLT

|11

01010-51030

BOLT

11A

01010-51035

BOLT

12

01643-31032

WASHER

13

01010-52450

BOLT

14

01643-32460

WASHER

15

21W-46-24113

COVER

|15

21W-46-24112

COVER

16

01010-51050

BOLT

17

203-54-55660

COLLAR

|17

130-43-64260

COLLAR

18

01643-31032

WASHER

|18

01643-32060

WASHER

19

01010-51040

BOLT

20

01643-31232

WASHER

21

144-62-21270

SPACER

Выбрано товаров: 29