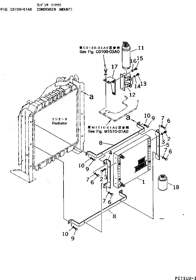
Запчасти Komatsu PC75UD-2E КОНДЕНСАТОР (КРЕПЛЕНИЕ) СИСТЕМА ОХЛАЖДЕНИЯ

Схема запчастей Komatsu PC75UD-2E - КОНДЕНСАТОР (КРЕПЛЕНИЕ) СИСТЕМА ОХЛАЖДЕНИЯ
FIT
1:1
100%

Артикул

Название

Примечание

Количество

1

21W-978-2611

CONDENSER

|1

21W-978-2610

CONDENSER

|1

21W-978-2220

CONDENSER

2

01010-50614

BOLT

3

01643-30623

WASHER

4

21W-978-2160

PLATE

5

21W-978-2170

PLATE

6

01010-50820

BOLT

7

01643-30823

WASHER

8

21W-978-2121

BRACKET

9

01010-50820

BOLT

10

01643-30823

WASHER

11

21Y-978-1130

RECEIVER,DRYER

|11

203-978-5550

RECEIVER,DRYER

12

203-978-5430

BRACKET

13

01010-50616

BOLT

14

01643-30623

WASHER

15

01010-50816

BOLT

16

01643-30823

WASHER

17

21W-978-2141

BRACKET

18

21W-978-2181

GAS,FLON R134A (200 GRAMS)

|18

21W-978-2180

GAS,FLON 12 (400 GRAMS)

|18

203-978-5610

GAS,FLON 12 (250 GRAMS)

Выбрано товаров: 23