Запчасти Komatsu PC75US-3 ПЕРЕДН. КРЫШКА(БАК COVER) (НАВЕСН. ОБОРУД.) ЧАСТИ КОРПУСА

Схема запчастей Komatsu PC75US-3 - ПЕРЕДН. КРЫШКА(БАК COVER) (НАВЕСН. ОБОРУД.) ЧАСТИ КОРПУСА
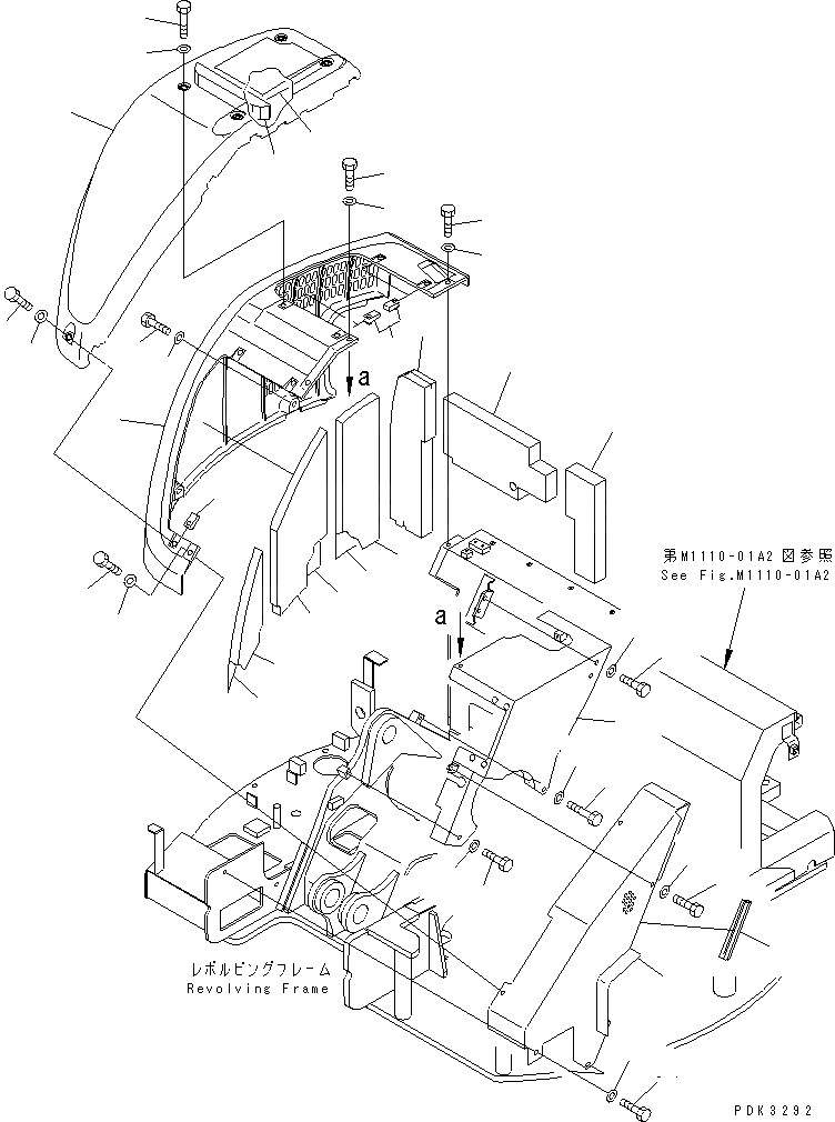
1
2
3
4
5
6
7
8
9
9
10
11
12
13
14
15
16
17
17
18
19
19
19
20
21
22
23
24
25
25
26
26
27
28
29
30
31
32
33
34
FIT
1:1
100%

Артикул

Название

Примечание

Количество

|1

21W-54-31500

COVER ASS'Y

1

COVER

2

21W-54-31370

SHEET

3

21W-54-31380

SHEET

4

21W-54-31390

SHEET

5

21W-54-31510

SHEET

6

21W-54-31520

SHEET

7

21W-54-31530

SHEET

8

21W-54-31731

SHEET

9

20U-54-21560

NUT

10

20U-54-21830

COVER

11

21W-54-31740

SHEET

12

21W-54-31780

SHEET

13

01010-81065

BOLT

14

01643-31032

WASHER

15

01010-81090

BOLT

16

01643-31032

WASHER

17

01010-81030

BOLT

18

01010-81040

BOLT

19

203-54-56970

WASHER

20

01010-81030

BOLT

21

203-54-56970

WASHER

22

21W-973-3330

COVER

23

21W-54-31752

SHEET

24

21W-54-31760

SHEET

25

01010-81030

BOLT

26

01643-31032

WASHER

27

01010-81080

BOLT

28

01643-31032

WASHER

29

21W-54-31590

COVER

30

21W-54-31570

SEAL

31

01010-81030

BOLT

32

01643-31032

WASHER

33

01010-81030

BOLT

34

01643-31032

WASHER

Выбрано товаров: 0