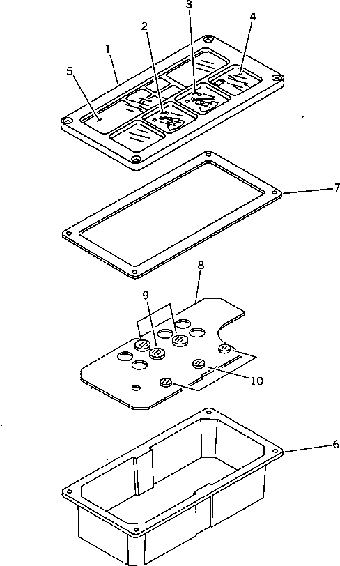
Запчасти Komatsu PC75UU-1 CLUSTER GAUGE КОМПОНЕНТЫ ДВИГАТЕЛЯ И ЭЛЕКТРИКА

Схема запчастей Komatsu PC75UU-1 - CLUSTER GAUGE КОМПОНЕНТЫ ДВИГАТЕЛЯ И ЭЛЕКТРИКА
FIT
1:1
100%

Артикул

Название

Примечание

Количество

|$0

21W-06-11120

GAUGE ASS'Y,CLUSTER

1

KA11245-KA2400

BEZEL

2

KA90413-KA2130

GAUGE,FUEL

3

KA90403-KA2130

GAUGE,WATER TEMPERATURE

4

KA90283-KA2000

METER,SERVICE

5

KA11113-KA2130

LENS,WARNING

6

KA11371-KA2001

HOUSING

7

KA11241-KA1100

GASKET

8

KA11630-KA2130

CIRCUIT ASS'Y

9

KA11700-DE2200

BULB ASS'Y

9

KA099-12403

BULB, 4W

10

KA11650-KS0100

BULB ASS'Y

10

KA11712-EN0100

BULB, 2W

Выбрано товаров: 13