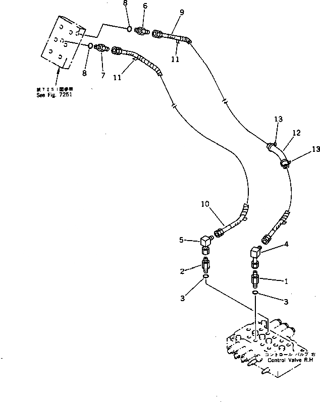
Запчасти Komatsu PC75UU-1 ГИДРОЛИНИЯ (ЦИЛИНДР КОВША) (ШАССИ) УПРАВЛ-Е РАБОЧИМ ОБОРУДОВАНИЕМ

Схема запчастей Komatsu PC75UU-1 - ГИДРОЛИНИЯ (ЦИЛИНДР КОВША) (ШАССИ) УПРАВЛ-Е РАБОЧИМ ОБОРУДОВАНИЕМ
FIT
1:1
100%

Артикул

Название

Примечание

Количество

1

21W-62-11290

UNION

2

20X-62-21330

NIPPLE

3

07002-12034

O-RING

4

21W-62-11730

TUBE

5

21W-62-11720

TUBE

6

07230-20422

UNION

6

07230-10422

UNION

7

20X-62-21330

NIPPLE

8

07002-12034

O-RING

9

07086-00414

HOSE

9

07096-00414

HOSE

10

07086-00415

HOSE

10

07096-00415

HOSE

11

203-62-32450

COVER

12

203-62-41150

COVER

13

08034-00519

BAND

Выбрано товаров: 16