Запчасти Komatsu PC75UU-1 ЦИЛИНДР РУКОЯТИ(С СТРЕЛА OFF'SET СТОПER) (КРОМЕ ЯПОН.)(№-) РАБОЧЕЕ ОБОРУДОВАНИЕ

Схема запчастей Komatsu PC75UU-1 - ЦИЛИНДР РУКОЯТИ(С СТРЕЛА OFF'SET СТОПER) (КРОМЕ ЯПОН.)(№-) РАБОЧЕЕ ОБОРУДОВАНИЕ
FIT
1:1
100%

Артикул

Название

Примечание

Количество

G-1

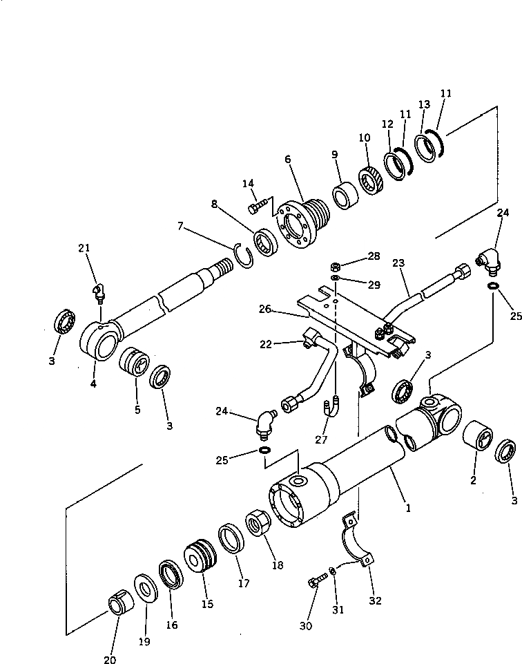
21W-63-X2090

CYLINDER GROUP,ARM

|$2

21W-63-02090

CYLINDER ASS'Y,ARM

1

21W-63-66340

CYLINDER

2

707-76-60180

BUSHING

3

07145-00060

SEAL,DUST (KIT)

4

201-63-66321

ROD,PISTON

5

707-76-60080

BUSHING

6

707-28-90270

HEAD,CYLINDER

7

07179-12074

RING,SNAP

8

141-63-93270

SEAL,DUST (KIT)

9

07177-06030

BUSHING

10

707-51-60211

PACKING,ROD (KIT)

11

07000-12090

O-RING (KIT)

12

707-35-90951

RING,BACK-UP (KIT)

13

07001-02090

RING,BACK-UP (KIT)

14

01010-81450

BOLT

15

707-36-90370

PISTON

16

707-44-90180

RING,PISTON (KIT)

17

07155-09025

RING,WEAR (KIT)

18

07165-14244

NUT

19

707-41-10060

PLATE

20

707-71-50670

PLUNGER

21

07020-00675

FITTING,GREASE

22

21W-63-66171

TUBE

23

21W-63-66380

TUBE

24

07235-10422

ELBOW

25

07002-12034

O-RING (KIT)

26

707-88-95441

BRACKET

27

07283-22236

CLIP

28

01599-01011

NUT

29

01643-31032

WASHER

30

01010-51035

BOLT

31

01643-51032

WASHER

32

707-88-99950

BAND

K

707-98-27500

SERVICE KIT

K

07145-00060

SEAL,DUST

K

141-63-93270

SEAL,DUST

K

707-51-60211

PACKING,ROD

K

07000-12090

O-RING

K

707-35-90951

RING,BACK-UP

K

07000-02090

O-RING,BACK-UP

K

707-44-90180

RING,PISTON

K

07155-09025

RING,WEAR

K

07002-12034

O-RING

Выбрано товаров: 44