Запчасти Komatsu PC75UU-1 ЦИЛИНДР КОВША РАБОЧЕЕ ОБОРУДОВАНИЕ

Схема запчастей Komatsu PC75UU-1 - ЦИЛИНДР КОВША РАБОЧЕЕ ОБОРУДОВАНИЕ
FIT
1:1
100%

Артикул

Название

Примечание

Количество

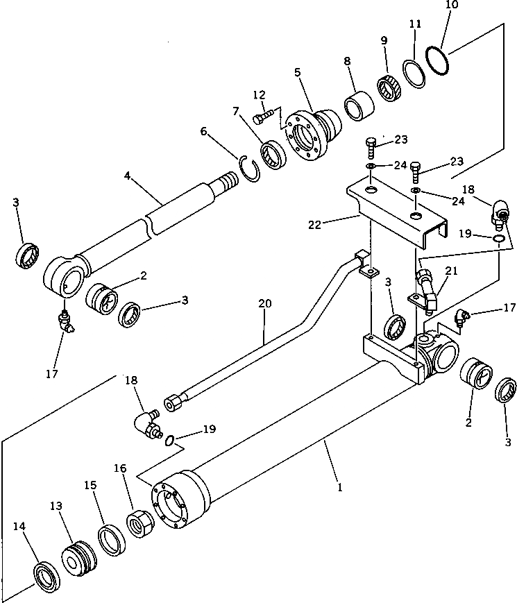
G-1

21W-63-X2030

CYLINDER GROUP,BUCKET

|$2

201-63-02030

CYLINDER ASS'Y,BUCKET

1

201-63-76340

CYLINDER

2

707-76-60080

BUSHING

3

07145-00060

SEAL,DUST

4

20X-63-76520

ROD,PISTON

5

707-27-90170

HEAD,CYLINDER

6

07179-12069

RING,SNAP

7

707-56-55510

SEAL,DUST

7

07016-00558

SEAL,DUST

8

07177-05530

BUSHING

9

707-51-55211

PACKING,ROD

10

07000-12090

O-RING

11

07001-02090

RING,BACK-UP

12

01010-81450

BOLT

13

707-36-90270

PISTON

13

707-36-90271

PISTON

14

707-44-90180

RING,PISTON

14

707-44-90080

RING,PISTON

15

07155-00925

RING,WEAR

16

07165-13941

NUT

17

07020-00675

FITTING,GREASE

18

07235-10422

ELBOW

19

07002-12034

O-RING

20

21W-63-76170

TUBE

21

21W-63-76180

TUBE

22

707-88-12130

COVER

23

01010-51025

BOLT

24

01643-31032

WASHER

Выбрано товаров: 29