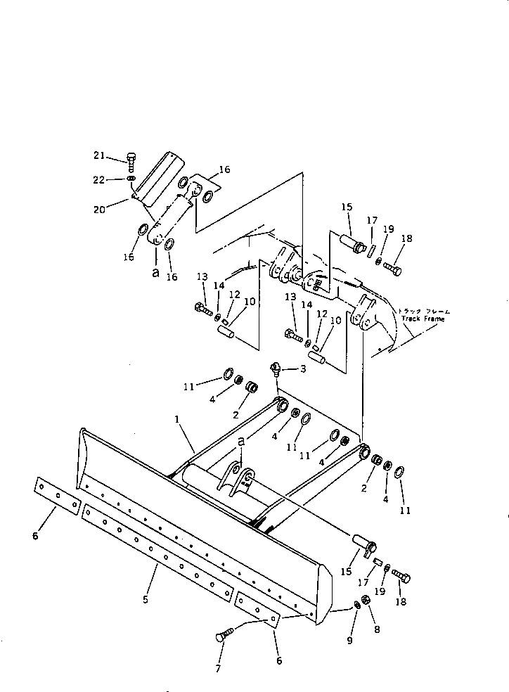
Запчасти Komatsu PC75UU-1 ОТВАЛ РАБОЧЕЕ ОБОРУДОВАНИЕ

Схема запчастей Komatsu PC75UU-1 - ОТВАЛ РАБОЧЕЕ ОБОРУДОВАНИЕ
FIT
1:1
100%

Артикул

Название

Примечание

Количество

|$0

21W-71-00100

BLADE ASS'Y

1

BLADE

2

07144-10505

BUSHING

3

07020-00675

FITTING,GREASE

4

07145-00050

SEAL,DUST

5

21W-71-11120

EDGE,CUTTING

6

20S-71-12230

EDGE

7

02090-10845

BOLT

8

02290-10813

NUT

9

01643-31445

WASHER

10

21W-71-11141

PIN

11

201-70-22150

SPACER, 1.0MM

12

04082-00212

LOCK

13

01010-51225

BOLT

14

01643-31232

WASHER

15

21W-71-11131

PIN

16

203-70-41460

SPACER, 1.0MM

17

205-70-66580

PLATE

18

01010-51230

BOLT

19

01643-31232

WASHER

20

21W-71-11210

COVER

21

01010-51020

BOLT

22

01643-31032

WASHER

Выбрано товаров: 23