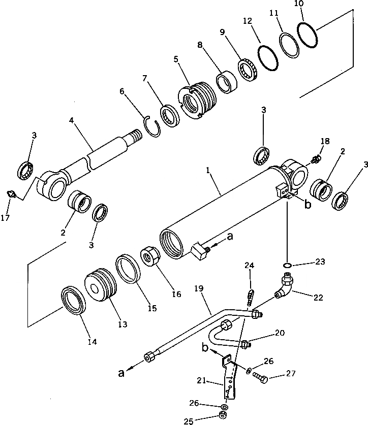
Запчасти Komatsu PC75UU-1 СТРЕЛА OFFSET ЦИЛИНДР РАБОЧЕЕ ОБОРУДОВАНИЕ

Схема запчастей Komatsu PC75UU-1 - СТРЕЛА OFFSET ЦИЛИНДР РАБОЧЕЕ ОБОРУДОВАНИЕ
FIT
1:1
100%

Артикул

Название

Примечание

Количество

G-1

21W-63-X2041

CYLINDER GROUP,OFFSET

|$2

21W-63-02041

CYLINDER ASS'Y,OFFSET

1

21W-63-86141

CYLINDER

2

07144-10606

BUSHING

3

07145-00060

SEAL,DUST

4

21W-63-86121

ROD,PISTON

5

707-29-11730

HEAD,CYLINDER

6

07179-12069

RING,SNAP

7

707-56-55510

SEAL,DUST

7

07016-20558

SEAL,DUST

8

07177-05530

BUSHING

9

707-51-55211

PACKING,ROD

10

07000-12105

O-RING

11

07146-02106

RING,BACK-UP

12

07000-02110

O-RING

13

707-36-11100

PISTON

14

707-44-11180

RING,PISTON

15

07156-01112

RING,WEAR

16

07165-13638

NUT

17

07020-00000

FITTING,GREASE

18

07020-00675

FITTING,GREASE

19

21W-63-86171

TUBE

20

21W-63-86181

TUBE

21

707-88-12110

BRACKET

22

07235-10422

ELBOW

23

07002-12034

O-RING

24

07283-22236

CLIP

25

01599-01011

NUT

26

01643-31032

WASHER

27

01010-51025

BOLT

Выбрано товаров: 30