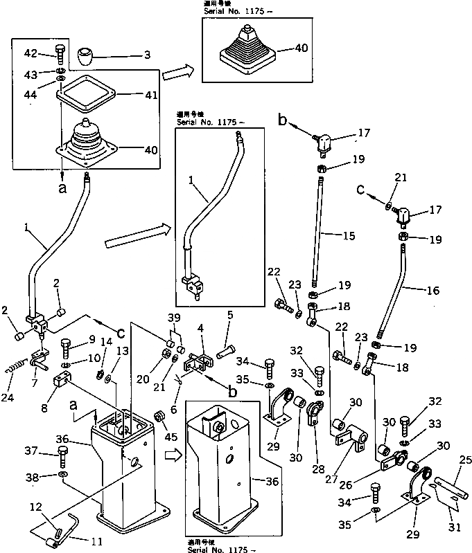
Запчасти Komatsu PC75UU-1 РЫЧАГ УПРАВЛЕНИЯ РАБОЧИМ ОБОРУДОВАНИЕМ (РУКОЯТЬ И ПОВОРОТН.) СИСТЕМА УПРАВЛЕНИЯ И ОСНОВНАЯ РАМА

Схема запчастей Komatsu PC75UU-1 - РЫЧАГ УПРАВЛЕНИЯ РАБОЧИМ ОБОРУДОВАНИЕМ (РУКОЯТЬ И ПОВОРОТН.) СИСТЕМА УПРАВЛЕНИЯ И ОСНОВНАЯ РАМА
FIT
1:1
100%

Артикул

Название

Примечание

Количество

1

20U-43-11152

LEVER,L.H.

1

20U-43-11150

LEVER,L.H.

2

203-43-31420

BUSHING

3

203-43-41910

KNOB

4

205-43-52140

YOKE

5

04205-11450

PIN

6

04050-14022

PIN,COTTER

7

20U-43-11210

LEVER,L.H.

8

20S-43-21390

BLOCK

9

01010-50840

BOLT

10

01602-20825

WASHER,SPRING

11

205-43-63830

LEVER,LOCK, L.H.

12

04025-00520

PIN,SPRING

13

01641-21423

WASHER

14

04064-01410

RING,SNAP

15

04245-41040

ROD

16

21W-43-11150

ROD

17

207-43-11170

JOINT

18

04250-41056

END,ROD

19

01582-11008

NUT

20

01582-11008

NUT

21

01643-31032

WASHER

22

01010-51035

BOLT

23

01643-31032

WASHER

24

203-43-21370

SPRING

25

21W-43-11170

SHAFT

26

21W-43-11180

LEVER

27

21W-43-11210

LEVER

28

21W-43-11190

LEVER

29

21W-43-11160

BRACKET

30

195-61-34130

BEARING

31

04010-00519

KEY

32

01010-50830

BOLT

33

01602-20825

WASHER,SPRING

34

01010-51030

BOLT

35

01643-31032

WASHER

36

21W-43-11451

STAND,L.H.

36

21W-43-11450

STAND,L.H.

36

20S-43-21210

STAND,L.H.

37

01010-51230

BOLT

38

01643-31232

WASHER

39

203-43-31420

BUSHING

40

20X-43-21730

BOOT

40

203-43-42782

BELLOWS

41

205-43-62260

COVER

42

20T-43-31410

BOLT

43

20T-43-31420

WASHER,SPRING

44

20T-43-31430

WASHER

45

09415-02512

CAP

Выбрано товаров: 49