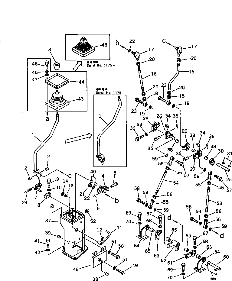
Запчасти Komatsu PC75UU-1 РЫЧАГ УПРАВЛЕНИЯ РАБОЧИМ ОБОРУДОВАНИЕМ (РУКОЯТЬ И ПОВОРОТН.) (I.S.O PATTERN) СИСТЕМА УПРАВЛЕНИЯ И ОСНОВНАЯ РАМА

Схема запчастей Komatsu PC75UU-1 - РЫЧАГ УПРАВЛЕНИЯ РАБОЧИМ ОБОРУДОВАНИЕМ (РУКОЯТЬ И ПОВОРОТН.) (I.S.O PATTERN) СИСТЕМА УПРАВЛЕНИЯ И ОСНОВНАЯ РАМА
FIT
1:1
100%

Артикул

Название

Примечание

Количество

1

20U-43-11152

LEVER,L.H.

1

20U-43-11150

LEVER,L.H.

2

203-43-31420

BUSHING

3

203-43-41910

KNOB

4

205-43-52140

YOKE

5

04205-11450

PIN

6

04050-14022

PIN,COTTER

7

20U-43-11210

LEVER,L.H.

8

20S-43-21390

BLOCK

9

01010-50840

BOLT

10

01602-20825

WASHER,SPRING

11

205-43-63830

LEVER,LOCK, L.H.

12

04025-00520

PIN,SPRING

13

01641-21423

WASHER

14

04064-01410

RING,SNAP

15

20S-43-24210

ROD

16

04245-41019

ROD

17

207-43-11170

JOINT

18

04250-41056

END,ROD

19

04254-01032

SPACER

20

01582-11008

NUT

21

01582-11008

NUT

22

01643-31032

WASHER

23

01010-51025

BOLT

24

203-43-21370

SPRING

25

20S-43-24130

SHAFT

26

21W-43-11630

LEVER

27

20S-43-24170

LEVER

28

20S-43-24140

LEVER

29

20S-43-24160

LEVER

30

20S-43-24180

LEVER

31

04010-00516

KEY

32

01010-50825

BOLT

33

01602-20825

WASHER,SPRING

34

20S-43-24190

PLATE

35

04205-10625

PIN

36

04050-11612

PIN,COTTER

37

21W-43-11611

STAND,L.H.

37

21W-43-11610

STAND,L.H.

38

09350-01615

BUSHING

39

09350-01620

BUSHING

40

203-43-31420

BUSHING

41

01010-51225

BOLT

42

01643-31232

WASHER

43

20X-43-21730

BOOT

43

203-43-42782

BELLOWS

44

205-43-62260

COVER

45

205-06-62170

BOLT

46

205-06-62180

WASHER,SPRING

47

205-06-62190

WASHER

48

21X-43-11520

BRACKET

48

20S-43-24120

BRACKET

49

01010-51020

BOLT

50

01010-51016

BOLT

51

01602-21030

WASHER,SPRING

52

09415-02512

CAP

53

04245-41015

ROD

54

04245-41016

ROD

55

04250-41056

END

56

01582-11008

NUT

57

01010-51025

BOLT

58

01010-51035

BOLT

59

04254-01032

SPACER

60

21W-43-11170

SHAFT

61

21W-43-11180

LEVER

62

21W-43-11210

LEVER

63

21W-43-11190

LEVER

64

21W-43-11160

BRACKET

65

195-61-34130

BEARING

66

04010-00519

KEY

67

01010-50830

BOLT

68

01602-20825

WASHER,SPRING

69

01010-51030

BOLT

70

01643-31032

WASHER

Выбрано товаров: 74