Качественные детали и логистика
Оригинальные и аналоговые запчасти с доставкой по России, Казахстану и Беларуси
©2022 PartSell ООО "Система" ИНН 2463123282 ОГРН 1212400004838
Центральный офис: г. Красноярск, Академика Киренского, д.87, пом.4
Телефон: 8 (800) 777-65-74 Email: zakaz@partsell.ru
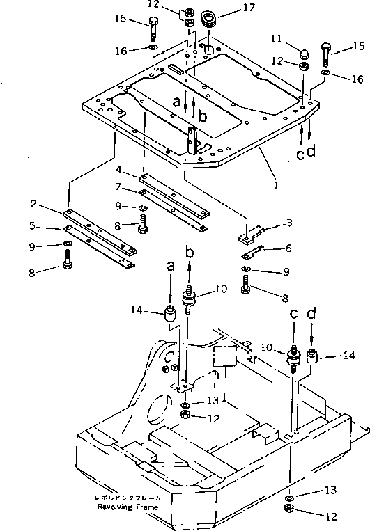
ПОЛ (/) (ДЛЯ НАВЕСН. ОБОРУД.)
№
Артикул
Название
Примечание
Количество
G-1
21W-973-X160
CONTROL MODIFIED G.,(FOR ATTACHMENT) (OP)
1
21W-973-1630
FRAME
2
21W-54-13320
SHEET
3
21W-973-1660
4
21W-54-13360
5
21W-54-13310
PLATE
6
21W-973-1650
7
21W-54-13350
8
01010-50612
BOLT
9
01602-20612
WASHER,SPRING
10
20R-01-12111
CUSHION
11
20T-54-26130
NUT
12
01580-11210
13
01643-31232
WASHER
14
20T-54-11510
BOSS
15
01010-51680
16
01643-31645
17
176-911-4160
GROMMET
Выбрано товаров: 0