Запчасти Komatsu PC75UU-1 АККУМУЛЯТОР КОМПОНЕНТЫ ДВИГАТЕЛЯ И ЭЛЕКТРИКА

Схема запчастей Komatsu PC75UU-1 - АККУМУЛЯТОР КОМПОНЕНТЫ ДВИГАТЕЛЯ И ЭЛЕКТРИКА
FIT
1:1
100%

Артикул

Название

Примечание

Количество

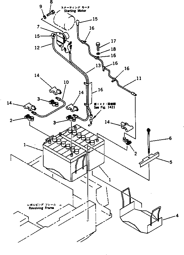
G-1

103-06-X2100

BATTERY GROUP

|$2

101-06-21410

BATTERY, WET(80D26R)

1

08000-32207

BATTERY (65D26R)

2

08000-00000

TERMINAL, (+)

3

08000-00001

TERMINAL, (-)

4

21W-06-11590

CASE

5

21W-06-11640

CLAMP

6

418-09-11120

BOLT

7

08088-10000

SWITCH,BATTERY RELAY

8

01010-50816

BOLT

9

01602-20825

WASHER,SPRING

10

20X-06-21160

WIRE

11

21W-06-11440

WIRE

12

21W-06-11450

WIRE

13

21W-06-11630

WIRE

14

08038-22009

CAP

15

08038-04030

CAP

16

08036-01814

CLIP

17

01010-51016

BOLT

18

01643-31032

WASHER

Выбрано товаров: 20