Запчасти Komatsu PC75UU-1 СИДЕНЬЕ ОПЕРАТОРА ЧАСТИ КОРПУСА

Схема запчастей Komatsu PC75UU-1 - СИДЕНЬЕ ОПЕРАТОРА ЧАСТИ КОРПУСА
FIT
1:1
100%

Артикул

Название

Примечание

Количество

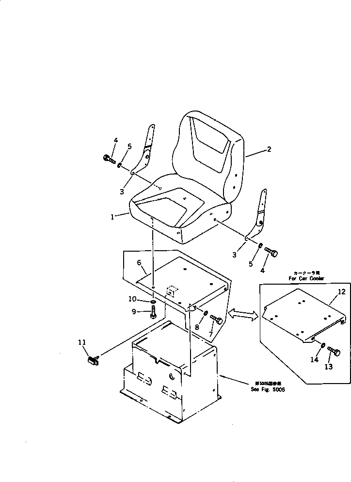
1

21W-57-11130

CUSHION,SEAT

2

21W-57-11140

CUSHION,BACK

3

21W-57-11150

PLATE,L.H.

3

21W-57-11160

PLATE,R.H.

4

01010-50825

BOLT

5

01602-20825

WASHER,SPRING

6

21W-57-11121

COVER

6

21W-57-11120

COVER

7

01010-51020

BOLT

8

01643-31032

WASHER

9

01010-50820

BOLT

10

01643-30823

WASHER

11

20U-54-12291

LOCK

11

20U-54-12290

LOCK

G-1

21W-978-X131

CAB COVER GROUP,(FOR CAR COOLER) (OP)

G-1

21W-978-X130

CAB COVER GROUP,(FOR CAR COOLER) (OP)

12

21W-978-1161

COVER

12

21W-978-1160

COVER

13

01010-51025

BOLT

14

01643-31032

WASHER

Выбрано товаров: 20