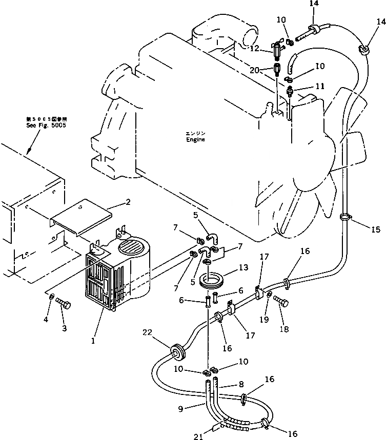
Запчасти Komatsu PC75UU-1 ОБОГРЕВАТЕЛЬ. (/) ЧАСТИ КОРПУСА

Схема запчастей Komatsu PC75UU-1 - ОБОГРЕВАТЕЛЬ. (/) ЧАСТИ КОРПУСА
FIT
1:1
100%

Артикул

Название

Примечание

Количество

1

205-977-7110

HEATER UNIT

2

21W-977-1111

COVER

2

21W-977-1110

COVER

3

01010-51025

BOLT

4

01643-31032

WASHER

5

09483-20450

HOSE

6

09484-00450

CONNECTOR

7

09480-10100

CLAMP

8

09483-00429

HOSE

9

09483-00427

HOSE

10

07281-00259

CLAMP

11

20X-977-2110

NIPPLE

12

203-977-4130

VALVE

13

08037-05016

GROMMET

14

202-98-11360

BUSHING

15

08034-00536

BAND

16

08034-00519

BAND

17

176-911-4170

CLIP

18

01010-51020

BOLT

19

01643-31032

WASHER

20

21W-977-1120

NIPPLE

21

203-62-32450

COVER

22

08037-05022

GROMMET

Выбрано товаров: 23